Запчасти Case IH 1220 (35.138.17) - CHECK/FLOW LIMITER VALVE ASSEMBLY 296823A2 (35) - HYDRAULIC SYSTEMS

Схема запчастей Case IH 1220 - (35.138.17) - CHECK/FLOW LIMITER VALVE ASSEMBLY 296823A2 (35) - HYDRAULIC SYSTEMS
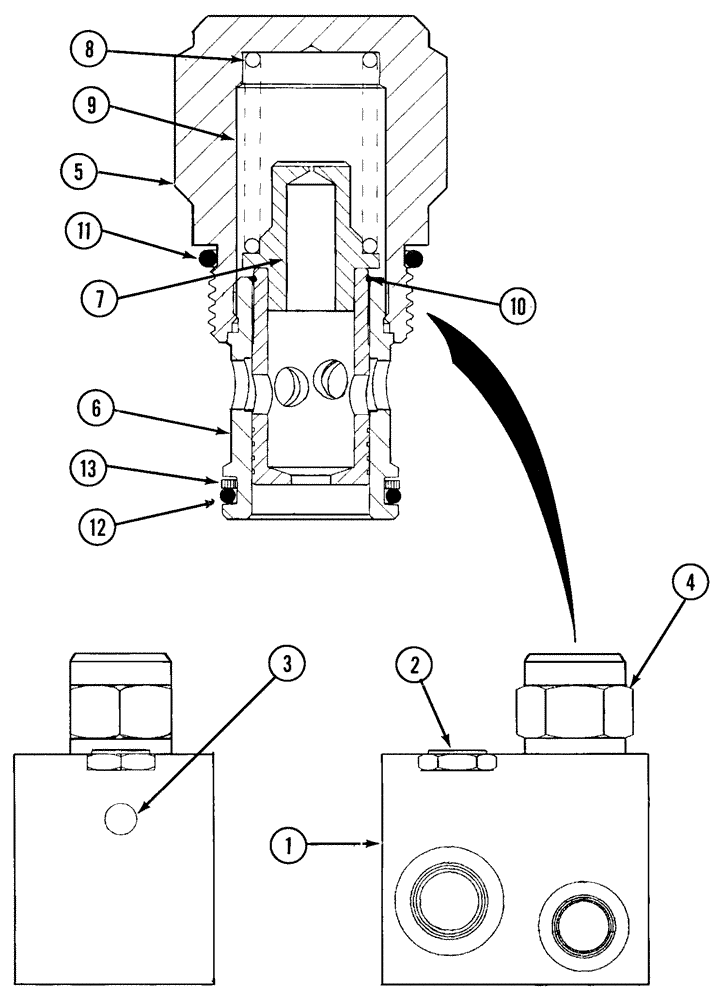
6
7
3
4
9
5
2
10
11
8
1
12
13
FIT
1:1
100%

Артикул

Название

Примечание

Количество

0

296823A2

VALVE

check

1шт.

1

NSS

NOT SOLD SEPARAT

body Valve

1шт.

2

149938C1

CHECK VALVE,7/8" - 14

assembly

1шт.

2a

86508168

SEAL KIT

Relief Valve

1шт.

3

NSS

NOT SOLD SEPARAT

plug Expander

1шт.

4

335894A1

VALVE

flow limiter

1шт.

5

NSS

NOT SOLD SEPARAT

retainer

1шт.

6

NSS

NOT SOLD SEPARAT

cage

1шт.

7

NSS

NOT SOLD SEPARAT

spool

1шт.

8

NSS

NOT SOLD SEPARAT

spring

1шт.

9

NSS

NOT SOLD SEPARAT

guide Spring

1шт.

10

NSS

NOT SOLD SEPARAT

c-ring

1шт.

11

NSS

NOT SOLD SEPARAT

o-ring

1шт.

Included in repair kit 1288954C1

1шт.

12

NSS

NOT SOLD SEPARAT

o-ring

1шт.

Included in repair kit 1288954C1

1шт.

13

NSS

NOT SOLD SEPARAT

washer backup

1шт.

Included in repair kit 1288954C1

1шт.

100

1288954C1

SEAL KIT

1шт.

Выбрано товаров: 19