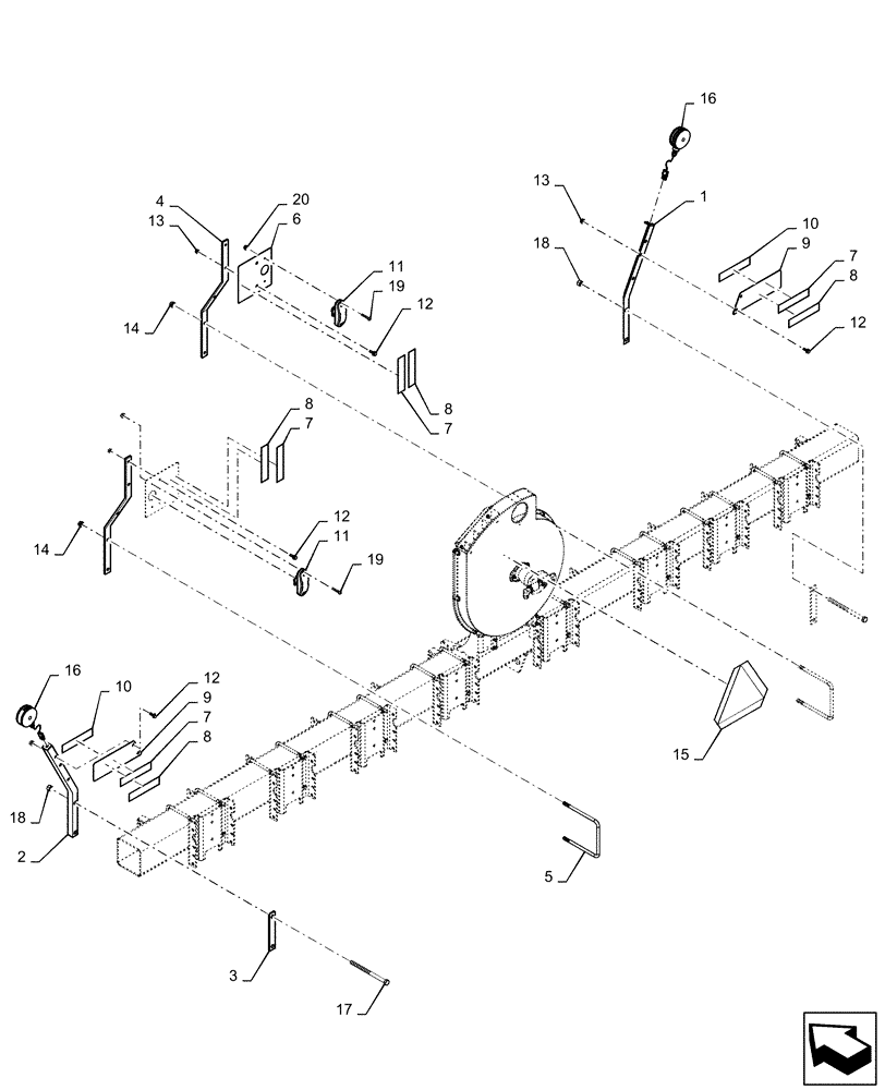
Запчасти Case IH 1225 EARLY RISER (55.404.AL[02]) - LIGHTING FOR 8 ROW (55) - ELECTRICAL SYSTEMS

Схема запчастей Case IH 1225 EARLY RISER - (55.404.AL[02]) - LIGHTING FOR 8 ROW (55) - ELECTRICAL SYSTEMS
8
1
7
14
10
19
12
12
13
11
12
6
15
18
10
8
11
16
17
12
14
16
19
7
8
20
7
9
13
3
18
4
9
7
2
8
5
FIT
1:1
100%

Артикул

Название

Примечание

Количество

1

1333937C3

ANGLE

Light Support

1шт.

2

1333936C3

ANGLE

Light Support

1шт.

3

1333940C1

BAR

Back Up

2шт.

4

47524972

SUPPORT

Tail Light Painted

2шт.

5

133351A1

U-BOLT,1/2" - 13 x 179.20mm W x 210mm L

.50 X 7 X 7

2шт.

6

47524989

SUPPORT

Reflector Plate Painted

2шт.

7

311865A1

REFLECTOR

Flourescent Orange (2" X 9")

4шт.

8

311863A1

REFLECTOR

Retroreflective Red (2" X 9")

4шт.

9

399075A1

BRACKET

Reflector Support

2шт.

10

311864A1

REFLECTOR

Retroreflective Amber (2" X 9")

2шт.

11

87627954

LOCKING TAB

Lamp, Tail/Stop - Incand.

2шт.

12

86521613

BOLT,Hex, 3/8" - 16 x 1", Gr 5

8шт.

13

86521606

FLANGE NUT,Hex, 3/8" - 16, Gr 5

8шт.

14

86521607

FLANGE NUT,Flg, 1/2"-13, G5

4шт.

15

311858A1

DECAL

Slow Moving Vehicle Emblem

1шт.

16

432622A1

WARNING LIGHT

Amber Warning Assembled

2шт.

17

86622984

BOLT,Hex, 5/8" - 11 x 9", Gr 5

4шт.

18

280374

NUT,Hex, 5/8" - 11, Gr 5

4шт.

19

86511924

SCREW,Pan, #10 - 24 x 1 1/4"

4шт.

20

523310

SERRATED NUT,Flng, #10 - 24, Gr 5

FLG #10-24 X 1.25 CST ZND

4шт.

Выбрано товаров: 0