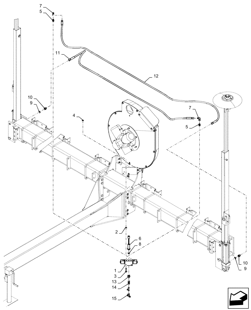
Запчасти Case IH 1225 EARLY RISER (35.746.AC[02]) - MARKER HYDRAULICS 8 ROW (35) - HYDRAULIC SYSTEMS

Схема запчастей Case IH 1225 EARLY RISER - (35.746.AC[02]) - MARKER HYDRAULICS 8 ROW (35) - HYDRAULIC SYSTEMS
12
10
8
4
5
3
7
10
15
13
11
7
9
1
6
2
14
5
9
FIT
1:1
100%

Артикул

Название

Примечание

Количество

1

149988C92

VALVE

Row Marker

1шт.

2

86624144

WASHER,0.41" ID x 0.75" OD x 0.12" Thk

2шт.

3

84522369

BOLT

3/8-16

2шт.

4

86521606

FLANGE NUT,Hex, 3/8" - 16, Gr 5

2шт.

5

76350

HYD CONNECTOR,9/16" - 18 ORB x 9/16" - 18 JIC

2шт.

6

1547188C1

SWITCH

1900 PSI

1шт.

7

86629586

90 ELBOW,9/16" - 18 JIC x 9/16" - 18 Fem Sw

2шт.

8

9617873

O-RING,0.078" Thk x 0.468" ID, -906, Cl 6, 90 Duro

1шт.

9

128825

O-RING,0.087" Thk x 0.644" ID, -908, Cl 6, 90 Duro

2шт.

10

1263477C3

HYD CONNECTOR

Orifice

2шт.

11

47508905

HYDRAULIC HOSE

6.4 mm ID X 2920 mm

1шт.

12

47508905

HYDRAULIC HOSE

6.4 mm ID X 3175 mm

1шт.

13

525646

HYD CONNECTOR,7/8" - 14 ORB x 9/16" - 18 JIC

1шт.

14

47567891

Swivel

1шт.

15

86513014

TEE,9/16" - 18 JIC x 9/16" - 18 JIC x 9/16" - 18 JIC

1шт.

Выбрано товаров: 15