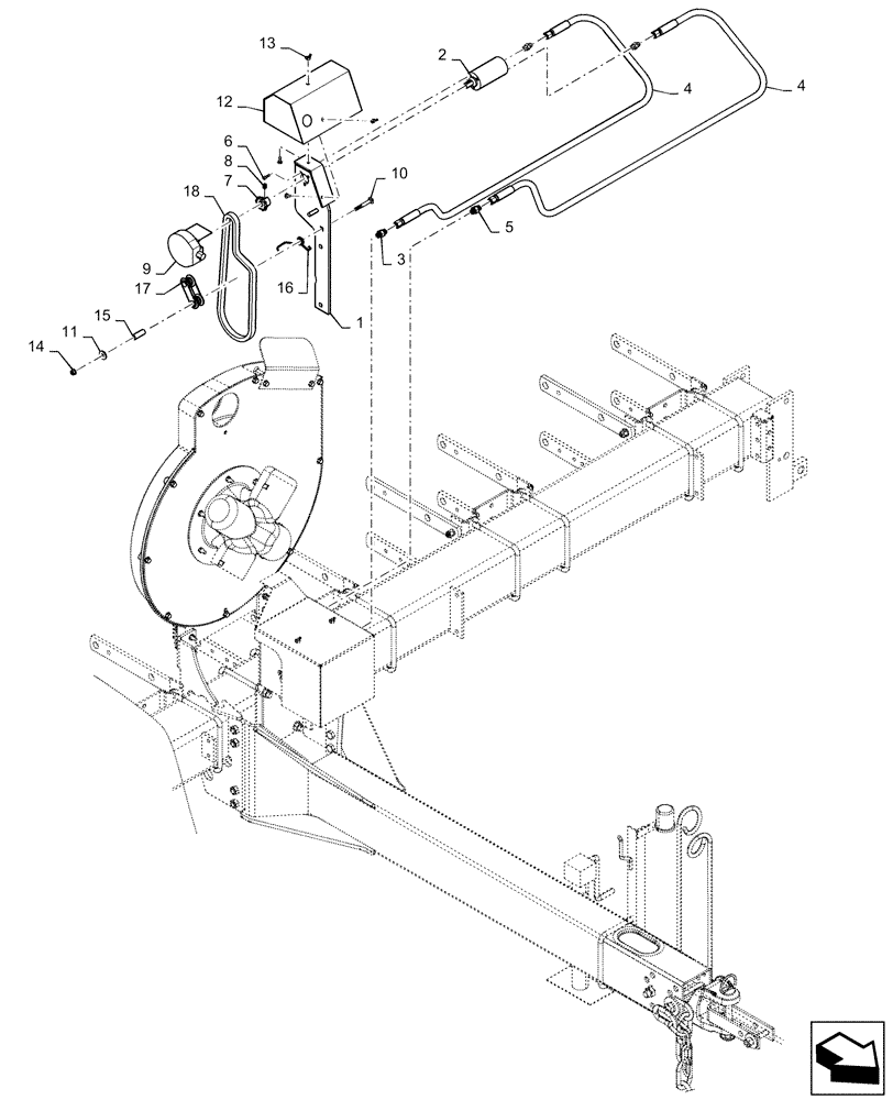
Запчасти Case IH 1225 EARLY RISER (61.901.AB[07]) - HYDRAULIC DRIVELINE (61) - METERING SYSTEM

Схема запчастей Case IH 1225 EARLY RISER - (61.901.AB[07]) - HYDRAULIC DRIVELINE (61) - METERING SYSTEM
2
7
1
17
16
11
3
5
18
14
13
9
4
12
6
10
4
15
8
FIT
1:1
100%

Артикул

Название

Примечание

Количество

1

87434287

BRACKET

Motor Mount

1шт.

2

293288A1

MOTOR

Meter Drive

1шт.

2

293288A1C

CORE-MOTOR HYDRAULIC

Meter Drive

1шт.

2

293288A1R

REMAN-HYD MOTOR

Meter Drive

1шт.

3

76350

HYD CONNECTOR,9/16" - 18 ORB x 9/16" - 18 JIC

3шт.

4

1284315C1

HYDRAULIC HOSE

2шт.

5

414107A1

CHECK VALVE

1шт.

6

86632598

HEX SOC SCREW,1/4" - 28 x 3/4"

3шт.

7

84551195

SPROCKET

#40 10 Tooth

1шт.

8

86632577

SET SCREW,Hex Skt, 1/4" - 20 x 1/4"

2шт.

9

296164A2

SENSOR

Application Rate Sensor

1шт.

10

280628

CARRIAGE BOLT,Sq Nk, 3/8" - 16 x 2 3/4", Gr 5

1шт.

11

86624186

WASHER,0.41" ID x 1.12" OD x 0.13" Thk

1шт.

12

87433232

SHIELD

VR Motor

1шт.

13

86627130

WING NUT,1/4"-20

2шт.

14

86521606

FLANGE NUT,Hex, 3/8" - 16, Gr 5

1шт.

15

47579093

SLEEVE

10.3 ID X 15.88 OD

1шт.

16

47557405

SPRING

Tortion Chain Tensioner LH

1шт.

17

87458905

ROLLER

Tensioner Chain

1шт.

18

47577600

CHAIN

Chain Seed Drive

1шт.

Выбрано товаров: 0