Запчасти Case IH 1240 (39.110.01) - DRAWBAR HELPER (39) - FRAMES AND BALLASTING

Схема запчастей Case IH 1240 - (39.110.01) - DRAWBAR HELPER (39) - FRAMES AND BALLASTING
2
11
10
19
8
18
8
12
16
14
17
19
20
7
3
4
9
1
18
15
2
5
6
17
13
16
FIT
1:1
100%

Артикул

Название

Примечание

Количество

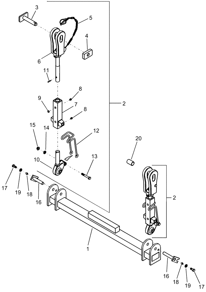
1

87413970

SUPPORT

drawbar helper

1шт.

2

249003A4

UPPER LINK

assembly lift 3-point hitch

2шт.

3

1965397C2

PIN,25mm OD x 129mm L

assembly, lift link

2шт.

4

1965420C2

PLATE

lift link pin

2шт.

5

1982152C2

PIN ASSY.

lift link

2шт.

6

250668A1

FORK,M30 x 2

assembly, lift link 50mm

2шт.

7

1965392C3

TURNBUCKLE,M30 x 2

lift link

2шт.

8

3229744R1

LUBE NIPPLE

self tapping

4шт.

9

1965426C1

PLUG

cup

8шт.

10

1965555C1

END,M30 x 2, LH Threads

rod assembly, lift link upper

2шт.

11

87023163

LOCK PIN,M5 x 32, Slotted

4шт.

12

1965554C2

SPRING

turnbuckle lock

2шт.

13

80412605

SCREW

M12 x 90 class 10.9 phc

2шт.

14

86625255

WASHER,13.3mm ID x 24.5mm OD x 3mm Thk

4шт.

15

412672

NUT,Hex, M12 x 1.75, Cl 10

2шт.

16

279387A1

PIN

rockshaft arm hardened

2шт.

17

398792

SCREW,Hex, M12 x 25mm, Cl 10.9

2шт.

18

304216A1

SPACER

pin retainer

2шт.

19

86625255

WASHER,13.3mm ID x 24.5mm OD x 3mm Thk

2шт.

20

87448153

BUSHING

cat 3 to 2 lower link

2шт.

Выбрано товаров: 20