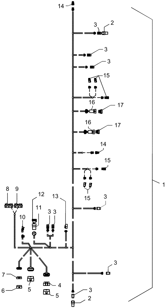
Запчасти Case IH 1240 (55.100.19) - ELECTRICAL - HARNESS 87538545, PT TOOLBAR, 4 SECTION, ISOBUS (55) - ELECTRICAL SYSTEMS

Схема запчастей Case IH 1240 - (55.100.19) - ELECTRICAL - HARNESS 87538545, PT TOOLBAR, 4 SECTION, ISOBUS (55) - ELECTRICAL SYSTEMS
15
6
3
1
14
15
10
9
3
3
8
3
3
15
2
16
3
17
4
11
5
7
2
5
16
12
3
17
14
3
13
FIT
1:1
100%

Артикул

Название

Примечание

Количество

1

87538545

HARNESS

pt toolbar, 4 section, ISOBUS

1шт.

2

87696545

CONTACT HOUSING,Male, 3 Pole

cab plastic rcp 3c

2шт.

3

87696551

CONTACT HOUSING,Female, 3 Pole

cab plastic plug 3c

8шт.

4

87540289

ELEC CONNECTOR,Female

1шт.

5

87533278

ELEC CONNECTOR,Male

1шт.

6

87533279

ELEC CONNECTOR,Male

1шт.

7

87541129

ELEC CONNECTOR,Female

1шт.

8

87268797

MULTIPOLE CONNECTOR,Female, 30 Pole

30c b plug

1шт.

9

87268798

MULTIPOLE CONNECTOR,Female, 30 Pole

30c plug b key

1шт.

10

87692855

CONTACT HOUSING,Male, 2 Cavities

plastic 2c plug

1шт.

11

795231

TERMINAL CONNECTOR,Female, 16 SAE

plastic 3c plug

1шт.

12

225291C1

DUST CAP

calibration switch

1шт.

13

9842512

ELEC CONNECTOR,Female, 16

3 Junct

1шт.

14

198456A1

ELEC CONNECTOR,Female

3-Way Receptacle ES-A7380

2шт.

15

225316C1

ELEC CONNECTOR,Female, 2 Pin

2 Cavity

6шт.

16

296483A1

ELEC CONNECTOR,Male, 5 Pin

Packard 150 series receptacle

1шт.

17

296482A1

ELEC CONNECTOR,Female, 5 Pin

Packard 150 series plug

1шт.

Выбрано товаров: 17