Запчасти Case IH 1240 (55.404.01) - ELECTRICAL - SAFETY LIGHTING SYSTEM (55) - ELECTRICAL SYSTEMS

Схема запчастей Case IH 1240 - (55.404.01) - ELECTRICAL - SAFETY LIGHTING SYSTEM (55) - ELECTRICAL SYSTEMS
10
6
1
4
12
8
7
55.404.02
55.404.02
55.404.02
3
5
6
7
1
8
4
9
11
FIT
1:1
100%

Артикул

Название

Примечание

Количество

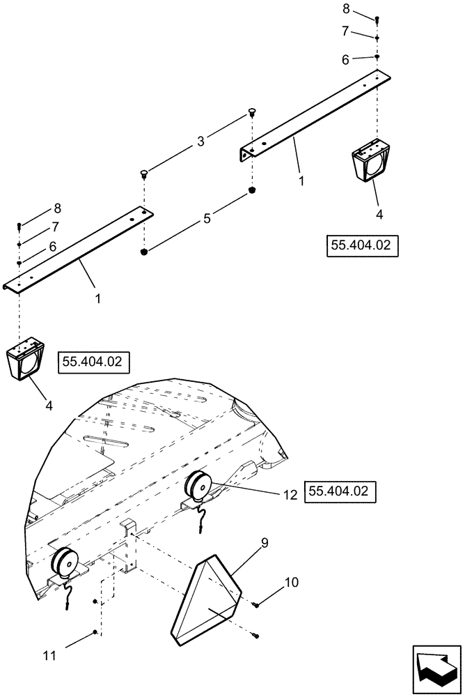
1

427967A1

BRACKET

safety light right

1шт.

2

427969A1

BRACKET

safety light left

1шт.

3

280420

CARRIAGE BOLT,Sq Nk, 1/2" - 13 x 1 1/2", Gr 5, Full Thd

4шт.

4

399152A1

LAMP

warning

2шт.

5

86512371

SERRATED NUT,Flg, USR, 1/2"-13

4шт.

6

86632587

WASHER,0.28" ID x 0.62" OD x 0.07" Thk

4шт.

7

80682

LOCK WASHER,1/4"

4шт.

8

275-14716

SELF-TAP SCREW,Hex Hd, 1/4" x 1"

4шт.

9

86547710

EMBLEM

KIT SMV

1шт.

10

9707580

BOLT,Hex, 1/4" - 20 x 3/4", Gr 5, Full Thd

2шт.

11

7770

NUT,Hex, 1/4 - 20, Cl 5

2шт.

12

51200040

LIGHT

assy. stop tail/signal red

2шт.

Includes 6815 and 86537133

1шт.

12

6815

LENS

red

2шт.

12

86537133

BULB,C6, #1157, 12.8V

2шт.

Выбрано товаров: 15