Запчасти Case IH 1240 (55.424.03[01]) - ELECTRICAL - AFS PRO 600 DISPLAY (55) - ELECTRICAL SYSTEMS

Схема запчастей Case IH 1240 - (55.424.03[01]) - ELECTRICAL - AFS PRO 600 DISPLAY (55) - ELECTRICAL SYSTEMS
2
3
4
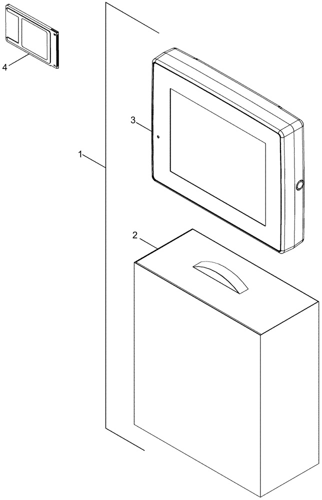
1
FIT
1:1
100%

Артикул

Название

Примечание

Количество

1

87668610

DISPLAY

field service black, Years: -01-AUG-08

1шт.

Includes Refs. 2, 3

1шт.

1

87385125

DISPLAY

field service black, Start Year: 01-AUG-08

1шт.

1

87385125R

REMAN-ELECT MONITOR

Reman-Monitor 1240 Pivot Transport Early Riser

1шт.

1

87385125C

CORE-MONITOR

Return Part Number

1шт.

1

84604338R

REMAN-ELECT MONITOR

1240 (7/08), Reman For 87385125

1шт.

1

84604338C

CORE-MONITOR

Return Part Number

1шт.

2

NSS

NOT SOLD SEPARAT

Box, Display Storage

1шт.

3

NSS

NOT SOLD SEPARAT

Display, Touchscreen

1шт.

3

87668597

CONTROL MONITOR

black touchscreen, Years: -01-AUG-08

1шт.

3

87385125R

REMAN-ELECT MONITOR

Reman-Monitor 1240 Pivot Transport Planter Early Riser, Reman For New P/N 87668597

1шт.

3

87385125C

CORE-MONITOR

Return Part Number

1шт.

3

84126831

CONTROL MONITOR

DISPLAY Black Touchscreen, Start Year: 01-AUG-08

1шт.

This ECU does not contain any application software and **MUST** be programmed before use.

1шт.

If drop shipping, make arrangements for programming.

1шт.

3

87385125R

REMAN-ELECT MONITOR

Reman-Monitor 1240 Pivot Transport Planter Early Riser, Reman For New P/N 84126831

1шт.

3

87385125C

CORE-MONITOR

Return Part Number

1шт.

4

87646115

ADAPTER

512 MB Compact Flash

1шт.

5

1983416C2

SWITCH

Calibration (Not Shown)

1шт.

Выбрано товаров: 19