Запчасти Case IH 1240 (55.640.01) - ELECTRICAL - PANEL AND BRACKETS (55) - ELECTRICAL SYSTEMS

Схема запчастей Case IH 1240 - (55.640.01) - ELECTRICAL - PANEL AND BRACKETS (55) - ELECTRICAL SYSTEMS
15
7
11
13
2
8
16
9
12
14
10
13
4
3
1
6
5
FIT
1:1
100%

Артикул

Название

Примечание

Количество

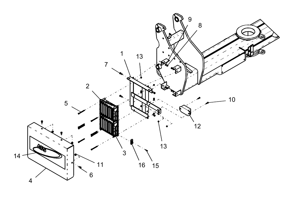
1

87652414

BRACKET

panel

1шт.

2

87588171

ECU

rate ISO11783

1шт.

This ECU does not contain any application software and **MUST** be programmed before use.

1шт.

If drop shipping, make arrangements for programming.

1шт.

2

87588171R

REMAN ELECT CONTROL

ELECTRONIC Cluster

1шт.

2

87588171C

CORE-ELECTRONIC CONT

Return Number

1шт.

3

87588172

MODULE

frame ISO11783

1шт.

3

87588172R

REMAN ELECT CONTROL

1240 Pivot Transport Planter Early Riser® Series (7/08-)

1шт.

3

87588172C

CORE-ELECTRONIC CONT

Return Number

1шт.

This ECU does not contain any application software and **MUST** be programmed before use.

1шт.

If drop shipping, make arrangements for programming.

1шт.

4

87652421

SHIELD

electrical panel

1шт.

5

280492

BOLT,Hex, 1/4" - 20 x 3 1/2", Gr 5

8шт.

6

86500692

BOLT,Hex, 3/8" - 16 x 3/4", Gr 8, Full Thd

3шт.

7

88206

BOLT,Hex, 3/8" - 16 x 1", Gr 5

4шт.

8

9628503

NUT,3/8"-16, G5

4шт.

9

80680

LOCK WASHER,3/8 0.381 CST ZND

4шт.

10

86505867

BOLT,Hex, 1/4" - 20 x 1", Gr 5

2шт.

11

247780

SERRATED NUT,Flg, USR, 3/8"-16

3шт.

12

86561136

MODULE

implement lighting control

1шт.

13

86625061

NUT,1/4"-20, GB

10шт.

14

239504A1

DECAL

AFS

1шт.

15

470-11016

SCREW,Pan HD, #10 - 24 x 1"

1шт.

16

425269A1

DUST CAP

30 conductor

1шт.

Выбрано товаров: 24