Запчасти Case IH 1240 (75.200.18) - ENDSHIELD (75) - SOIL PREPARATION

Схема запчастей Case IH 1240 - (75.200.18) - ENDSHIELD (75) - SOIL PREPARATION
2
11
10
4
5
7
5
9
3
8
6
1
11
6
FIT
1:1
100%

Артикул

Название

Примечание

Количество

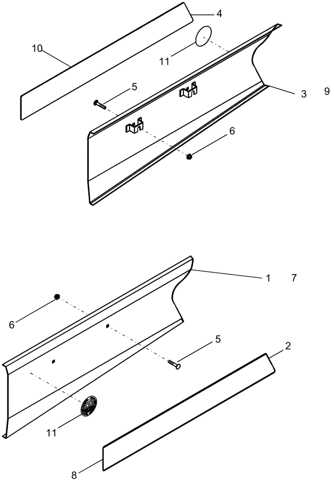
1

323398A3

SHIELD

end row unit LH

1шт.

2

87595797

DECAL

1240 LH long 810mm

1шт.

3

324435A3

SHIELD

row unit RH

1шт.

4

87595798

DECAL

1240 RH long 810 mm

1шт.

5

80280503

CARRIAGE BOLT,Sht Sq Nk, 3/8" - 16 x 1", Gr 5, Full Thd

4шт.

6

247780

SERRATED NUT,Flg, USR, 3/8"-16

4шт.

7

347181A2

SHIELD

end short LH

1шт.

8

87595795

DECAL

1240 LH short 601 mm

1шт.

9

347179A2

SHIELD

end RH

1шт.

10

87595796

DECAL

1240 RH short 601 mm

1шт.

11

87528877

DECAL

early riser planter Circle

2шт.

Выбрано товаров: 11