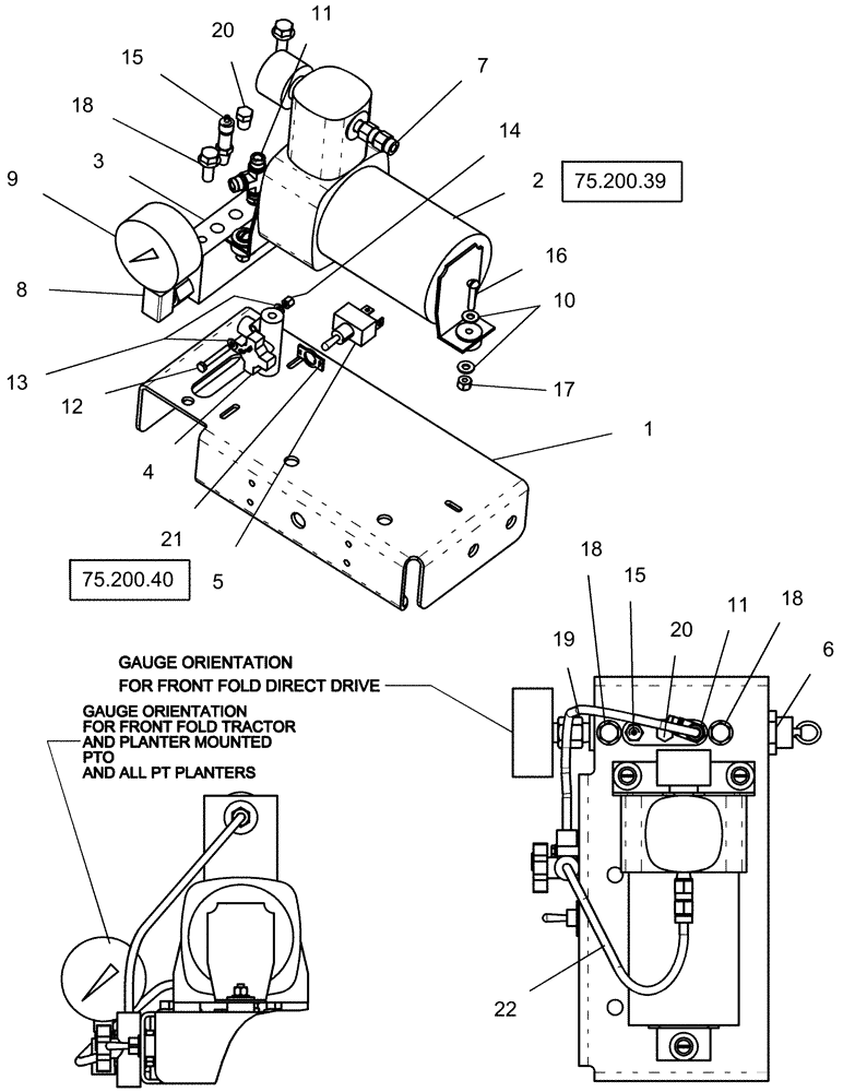
Запчасти Case IH 1240 (75.200.30) - PNEUMATIC DOWN PRESSURE - PUMP MOUNT DETAILS, DIRECT DRIVE (75) - SOIL PREPARATION

Схема запчастей Case IH 1240 - (75.200.30) - PNEUMATIC DOWN PRESSURE - PUMP MOUNT DETAILS, DIRECT DRIVE (75) - SOIL PREPARATION
19
8
11
2
11
6
18
13
15
17
21
20
4
3
18
5
18
16
10
1
14
20
9
7
22
75.200.39
12
75.200.40
15
FIT
1:1
100%

Артикул

Название

Примечание

Количество

1

87693590

BRACKET

pneumatic pump mounting

1шт.

2

87623677

AIR COMPRESSOR

pneumatic down pressure

1шт.

2

84282522R

REMAN-HYD PUMP,12V

1240 PIVOT TRANSPORT PLANTER EARLY RISER® SERIES, Pneumatic down pressure (7/08-), Reman for New PN 87623677

1шт.

2

84282522C

CORE-HYDRAULIC PUMP,12V

Return Number

1шт.

3

87623678

MANIFOLD

1шт.

4

87623679

PNEUMATIC VALVE

3 way change

1шт.

5

84124074

HARNESS

air compressor power

1шт.

5

84124092

TOGGLE SWITCH

spdt momentary

1шт.

5

87739255

RING NUT

15/32"-32, G2

1шт.

6

87474591

VALVE PRESSURE RELIE

110 psi

1шт.

7

84256879

FITTING

Straight, 1/4" PTC x 1/8" npt

1шт.

8

217-21

ELBOW,90 Degree, 1/4"-18 NPTF, Fem x 1/4"-18 NPTF Male

1шт.

9

21380

GAUGE

pressure 0-160 psi

1шт.

10

9824326

WASHER,5.3mm ID x 10mm OD x 1mm Thk

6шт.

11

87623684

FITTING

street tee swivel 1/4" tube 1/8" npt

1шт.

12

385682

BOLT,Hex, M4 x 30mm, Cl 8.8

2шт.

13

89824840

WASHER,4.3mm ID x 9mm OD x 0.8mm Thk

4шт.

14

86625075

NUT,M4 x 0.7, Cl 8

2шт.

15

87623685

VALVE

tank, Schrader 1/8" npt

1шт.

16

470-11016

SCREW,Pan HD, #10 - 24 x 1"

3шт.

17

86632551

NUT,#10-24, GB

3шт.

18

86521552

BOLT,Hex, 5/16" - 18 x 3/4", Gr 5

2шт.

19

87306797

ADAPTER,1/4"-18 Fem NPTF x 1/4"-18 NPTF Male

1шт.

20

86643151

PLUG,Hex Hd, 1/8"-27 NPTF

1шт.

21

87696817

PLATE

switch, on off, Years: -01-MAY-10

1шт.

22

87675607

HOSE, BULK,4.318 mm ID x 6.35 mm OD x 76200 mm L

250' roll

2шт.

21

84165754

DECAL

Power, On Off, Start Year: 01-MAY-10

1шт.

Выбрано товаров: 27