Качественные детали и логистика
Оригинальные и аналоговые запчасти с доставкой по России, Казахстану и Беларуси
©2022 PartSell ООО "Система" ИНН 2463123282 ОГРН 1212400004838
Центральный офис: г. Красноярск, Академика Киренского, д.87, пом.4
Телефон: 8 (800) 777-65-74 Email: zakaz@partsell.ru
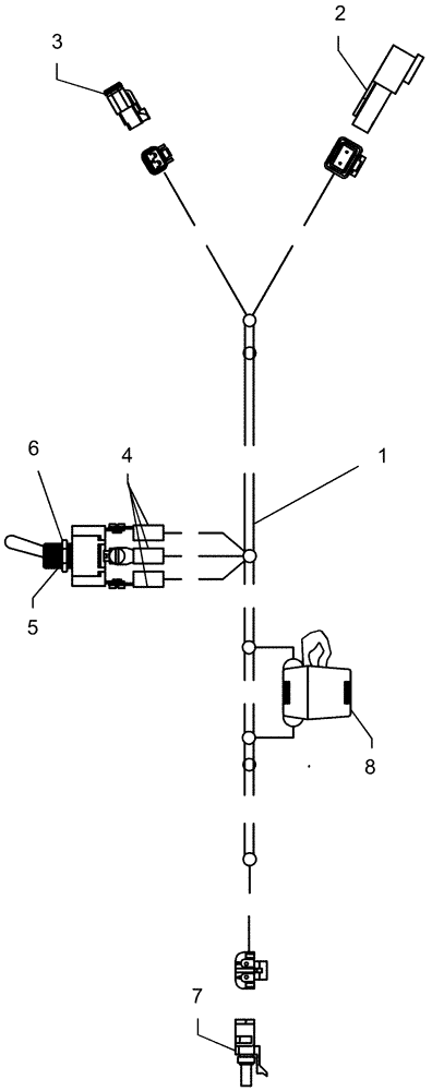
(75.200.41) - PNEUMATIC DOWN PRESSURE - HARNESS 84124074
№
Артикул
Название
Примечание
Количество
1
84124074
HARNESS
air compressor power
1шт.
2
225315C1
ELEC CONNECTOR,Male, 2 Pin
Cab Plastic Receptacle 2C
3
225316C1
ELEC CONNECTOR,Female, 2 Pin
2 Cavity
4
NSS
NOT SOLD SEPARAT
terminal connector, ring
3шт.
5
84124092
TOGGLE SWITCH
spdt momentary
6
87739255
RING NUT
15/32"-32, G2
7
87692855
CONTACT HOUSING,Male, 2 Cavities
plastic 2c plug
8
13972
FUSE HOLDER
inline ato 12awg
87594267
FUSE
auto 20 amp 32V
Выбрано товаров: 0