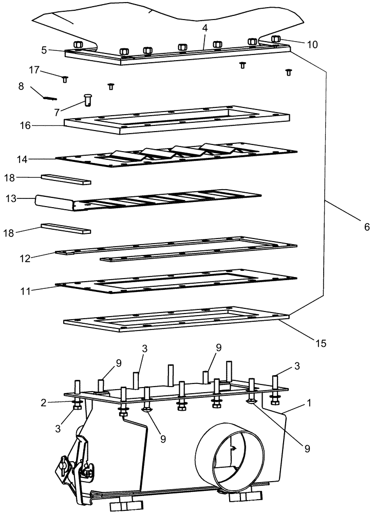
Запчасти Case IH 1240 (80.150.13[01]) - BULK FILL - SEED BOX MOUNT (80) - CROP STORAGE/UNLOADING

Схема запчастей Case IH 1240 - (80.150.13[01]) - BULK FILL - SEED BOX MOUNT (80) - CROP STORAGE/UNLOADING
4
9
11
14
3
3
18
13
10
3
12
9
6
16
9
1
8
18
5
7
17
2
15
9
FIT
1:1
100%

Артикул

Название

Примечание

Количество

1

NSS

NOT SOLD SEPARAT

GATE SHUT-OFF ASSEMBLY

2шт.

2

87016

WASHER,0.41" ID x 0.81" OD x 0.07" Thk

8шт.

3

88436

BOLT,Hex, 3/8" - 16 x 2", Gr 5

8шт.

4

87450878

STRAP

13 5/8" x 1"

2шт.

5

87501781

SECURING STRAP

7 3/8" x 1 1/4"

2шт.

6

87454058

GATE ASSY

shut-off

1шт.

7

86624060

HEADED PIN,3/8" x 3/4", G2

1шт.

8

86624096

COTTER PIN,Int, 3/16 x .080"

1шт.

9

86508775

CARRIAGE BOLT,Sq Nk, 3/8" - 16 x 1 3/4", Gr 5

4шт.

10

88902

NUT,3/8"-16

12шт.

11

87450860

SUPPORT

seed gate

1шт.

12

87450863

GUIDE

seed gate

1шт.

13

87450866

PLATE

gate seed

1шт.

14

87450869

PLATE

grating seed control

1шт.

15

87445220

GASKET

bottom

1шт.

16

87445221

GASKET

top

1шт.

17

449-36

RIVET,Truss Hd, 3/16" x 3/8"

4шт.

18

87445222

GASKET

seed gate

2шт.

Выбрано товаров: 18