Запчасти Case IH 1240 (35.138.04) - LAYOUT VALVE MARKER MOUNTING 12/23 ROW (35) - HYDRAULIC SYSTEMS

Схема запчастей Case IH 1240 - (35.138.04) - LAYOUT VALVE MARKER MOUNTING 12/23 ROW (35) - HYDRAULIC SYSTEMS
9
19
19
6
7
17
3
13
2
5
4
5
19
12
15
6
11
22
7
22
6
1
6
10
23
15
8
21
15
23
4
23
9
23
35.138.15
6
23
23
23
13
23
FIT
1:1
100%

Артикул

Название

Примечание

Количество

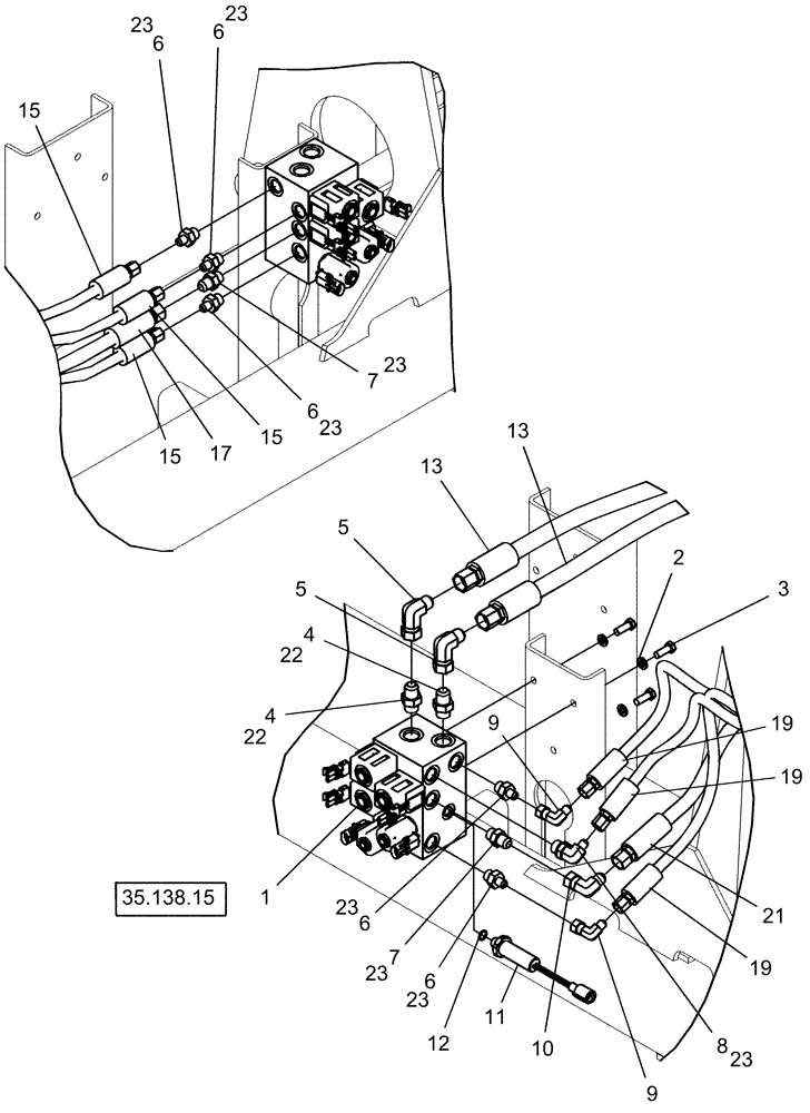
1

401592A1

VALVE, CONTROL

assembly marker

1шт.

2

80680

LOCK WASHER,3/8 0.381 CST ZND

3шт.

3

88206

BOLT,Hex, 3/8" - 16 x 1", Gr 5

3шт.

4

87301330

HYD CONNECTOR,7/8" - 14 ORB x 7/8" - 14 JIC

5/8" mb x 5/8" mj

2шт.

Includes O-Ring

1шт.

5

182977

90 ELBOW,90 Degree, 7/8"-14, 37 Degree x 7/8"-14, 37 Degree Fem Sw

2шт.

6

128817

HYD CONNECTOR,3/4" - 16 ORB x 9/16" - 18 JIC

5шт.

Includes O-Ring

1шт.

7

128818

UNION,3/4" - 16 ORB x 3/4" - 16 JIC

2шт.

Includes O-Ring

1шт.

8

87329788

90 ELBOW,90 Degree, 9/16"-18, 37 Degree x 3/4"-16, O-Ring

1шт.

Includes O-Ring

1шт.

9

86629586

90 ELBOW,9/16" - 18 JIC x 9/16" - 18 Fem Sw

2шт.

10

248974

90 ELBOW,3/4" - 16 JIC x 3/4" - 16 Fem Sw

1шт.

11

1547188C1

SWITCH

pressive inv

1шт.

12

237-8006

O-RING,0.078" Thk x 0.468" ID, -906, Cl 8, 90 Duro

1шт.

13

410538A1

HYDRAULIC HOSE

5/8" x 94" fl

2шт.

15

1284264C1

HYDRAULIC HOSE

3/8" x 290" fl

3шт.

17

91204C1

HYDRAULIC HOSE,12.7mm ID x 4320mm L

1шт.

19

1284304C1

HYDRAULIC HOSE,9.53mm ID x 4445mm L

3/8" x 175" fl

3шт.

21

90874C1

HYDRAULIC HOSE

1/2" x 55" fl

1шт.

22

167269

O-RING,0.097" Thk x 0.755" ID, -910, Cl 6, 90 Duro

1шт.

23

128825

O-RING,0.087" Thk x 0.644" ID, -908, Cl 6, 90 Duro

1шт.

Выбрано товаров: 23