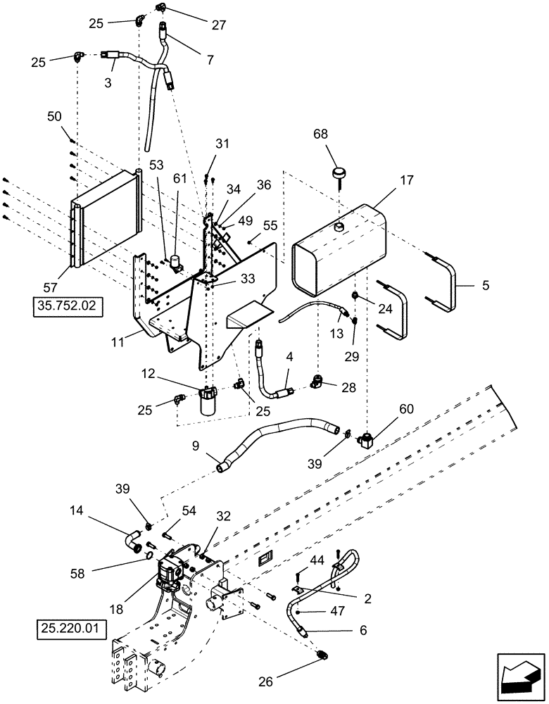
Запчасти Case IH 1240 (35.220.03) - 22 GPM PTO DRIVE - RESERVOIR, COOLER AND HOSES (35) - HYDRAULIC SYSTEMS

Схема запчастей Case IH 1240 - (35.220.03) - 22 GPM PTO DRIVE - RESERVOIR, COOLER AND HOSES (35) - HYDRAULIC SYSTEMS
9
60
5
25
58
57
47
27
25
68
2
49
29
55
6
39
12
36
17
11
18
39
53
24
35.752.02
25.220.01
4
28
54
26
7
25
44
34
3
61
25
14
32
31
50
13
33
FIT
1:1
100%

Артикул

Название

Примечание

Количество

2

CC-105

HOSE CLAMP

for 2 hoses

2шт.

3

22784

HYDRAULIC HOSE,0.75" ID x 28.00", SAE J517, SAE J516, SAE J846, SAE J1273

3/4" x 28" fl, 3/4" fjic x 3/4" fjic

1шт.

4

22784

HYDRAULIC HOSE,0.75" ID x 28.00", SAE J517, SAE J516, SAE J846, SAE J1273

3/4" x 28" fl, 3/4" fjic x 3/4" fjic

1шт.

5

87399575

STRAP

11 gallon tank

2шт.

6

87454228

HYDRAULIC HOSE,16mm ID x 11950mm L, SAE 100R17

5/8" x 470" fl

1шт.

16 row, 16/31 row and 24 row planters

1шт.

6

87454625

HYDRAULIC HOSE

5/8" x 409" fl

1шт.

12 row and 12/23 row planters

1шт.

7

87454229

HYDRAULIC HOSE,19mm ID x 11240mm L, SAE 100R17

3/4" x 442" fl

1шт.

16 row, 16/31 row and 24 row planters

1шт.

7

87454626

HYDRAULIC HOSE

3/4" x 375" fl

1шт.

12 row and 12/23 row planters

1шт.

9

87624281

HOSE,38.10 mm ID x 2200.00 mm, SAE 100R4

Suction

1шт.

11

87619911

MOUNT

cooler and tank

1шт.

11

9826789

DANGER DECAL,180mm x 90mm H

rotating driveline

1шт.

11

87534382

DECAL

pto bolt torque

1шт.

12

87404509

FILTER ASSY

includes head

1шт.

12

87404510

FILTER

spin on element

1шт.

13

1284300C1

HYDRAULIC HOSE

3/8" x 380" fl

1шт.

16 row, 16/31 row and 24 row planters

1шт.

13

1284299C1

HYDRAULIC HOSE

3/8" x 350" (8890 mm)

1шт.

12 row and 12/23 row planters

1шт.

14

87722075

TUBE

90º 1 1/2" fl x 1 1/2" fl

1шт.

17

87399501

TANK

11 gallon

1шт.

18

87690665

PUMP

22 gpm Casappa

1шт.

24

218-5044

HYD CONNECTOR,9/16" - 18 Male JIC x 1-1/16" - 12 Male ORB

1шт.

25

322894

90 ELBOW,1-1/16" - 12 JIC x 1-1/16" - 12 ORB

4шт.

26

218-5130

ELBOW,90 Degree Elbow, 7/8" - 14 Male JIC x 1-5/16" - 12 Male ORB

1шт.

27

218-5231

ELBOW,90 Degree, 1 1/16"-12, 37 Degree x 1 1/16"-12, 37 Degree Fem Sw

1шт.

28

218-5601

ELBOW,90 Degree, 1 5/16"-12, 37 Degree x 1 5/8"-12, O-Ring

1шт.

29

86629586

90 ELBOW,9/16" - 18 JIC x 9/16" - 18 Fem Sw

1шт.

31

145913

BOLT,Hex Flg, 5/16" - 18 x 3/4", Gr 5, Full Thd

3шт.

32

85700693

NUT,5/8" - 11, Gr C

4шт.

33

280129

NUT,1/4"-20

2шт.

34

80664

WASHER,0.38" ID x 0.88" OD x 0.08" Thk

8шт.

36

80681

LOCK WASHER,5/16"

12шт.

39

84674

HOSE CLAMP,33.3mm - 57.1mm, Worm Gear

2шт.

44

88436

BOLT,Hex, 3/8" - 16 x 2", Gr 5

2шт.

47

247780

SERRATED NUT,Flg, USR, 3/8"-16

2шт.

49

86521605

FLANGE NUT,5/16"-18, Cl 5

8шт.

50

9635884

BOLT,Hex, 5/16" - 18 1", Full Thd, Gr 5

8шт.

53

9707580

BOLT,Hex, 1/4" - 20 x 3/4", Gr 5, Full Thd

2шт.

54

86505999

BOLT,Hex, 5/8" - 11 x 2", Gr 5

4шт.

55

231-1446

NUT,3/8" - 16, Gr 5

4шт.

57

87618983

COOLER ASSY.

pusher

1шт.

58

87632735

O-RING,1.859" ID x 2.137" OD x 0.139"

1.859 id x 2.137 od #225

1шт.

60

87733369

FITTING

90º 1 1/2" hb x 1 7/8" mb

1шт.

61

382110A1

CONTACT HOUSING

cap, Cole Hersee seven pin

1шт.

68

129575A1

CAP

breather with dipstick

1шт.

Выбрано товаров: 49