Запчасти Case IH 1240 (35.220.04) - 36 GPM PTO DRIVE - DRIVESHAFT AND GEARBOX (35) - HYDRAULIC SYSTEMS

Схема запчастей Case IH 1240 - (35.220.04) - 36 GPM PTO DRIVE - DRIVESHAFT AND GEARBOX (35) - HYDRAULIC SYSTEMS
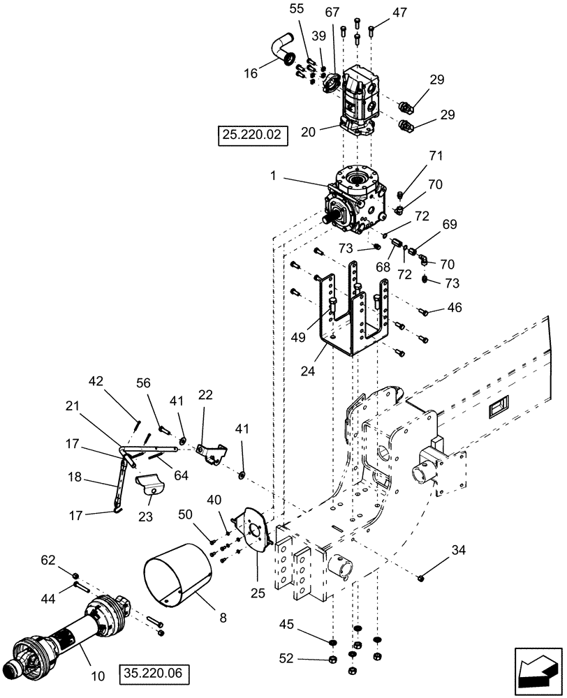
1
56
41
55
49
34
22
41
47
21
29
72
16
18
10
45
17
68
8
20
40
50
69
52
17
46
73
70
42
67
23
64
25
72
62
71
70
39
25.220.02
35.220.06
29
73
24
44
FIT
1:1
100%

Артикул

Название

Примечание

Количество

1

87479369

GEARBOX

assembly

1шт.

8

87580079

SHIELD

pto drive shaft

1шт.

10

87638239

DRIVE SHAFT

1 3/4" yoke

1шт.

10

87607920

DRIVE SHAFT

1 3/8" yoke

1шт.

16

87722075

TUBE

90º 1 1/2" fl x 1 1/2" fl

1шт.

17

115680

HOOK

anchor

2шт.

18

273672

FASTENER

Strap, Rubber

1шт.

20

87690666

PUMP

36 gpm Casappa

1шт.

20

87690666R

REMAN-HYD PUMP

36 gpm

1шт.

20

87690666C

CORE-HYDRAULIC PUMP

Return Number

1шт.

21

87576289

BRACKET

shaft storage

1шт.

22

87655642

MOUNT

lug

1шт.

23

87535934

SADDLE

pto shaft

1шт.

24

87655583

MOUNT

gearbox

1шт.

25

87655641

BRACKET

shield mount

1шт.

29

218-5130

ELBOW,90 Degree Elbow, 7/8" - 14 Male JIC x 1-5/16" - 12 Male ORB

2шт.

34

87530607

NUT

1/2"-13, GB

1шт.

39

80679

LOCK WASHER,1/20.507 CST ZND

4шт.

40

80681

LOCK WASHER,5/16"

12шт.

41

80700

WASHER,0.56" ID x 1.38" OD x 0.11" Thk

2шт.

42

80754

COTTER PIN,3/16" OD x 1-1/2" OAL

2шт.

44

87339

BOLT,Hex, 1/2" - 13 x 3", Gr 5

2шт.

45

87340

LOCK WASHER,Helical Spring, 0.759" ID, CST, ZND

4шт.

46

87670

BOLT,1/2" - 13 x 1-1/4", Full Thd, Gr 5

8шт.

47

87689

BOLT,1/2"-13 x 1.813" OAL, Gr 5

4шт.

49

88557

BOLT,Hex, 3/4" - 10 x 2", Gr 5, Full Thd

4шт.

50

16043224

BOLT,Hex, M8 x 16mm, Cl 8.8

4шт.

52

280954

NUT,3/4"-10, G5

4шт.

55

9706687

BOLT,M12 x 1.75 x 30mm, Cl 8.8

4шт.

56

9707516

BOLT,1/2"-13 x 1-3/4", Cl 5

1шт.

62

87530607

NUT

1/2"-13, GB

2шт.

64

87690468

ROLL PIN

1/4" x 3", Slotted

2шт.

67

A14157

FLANGE

split

2шт.

68

87739229

FITTING

extension long

1шт.

69

87739230

FITTING

extension short

1шт.

70

87031306

ELBOW,90 Degree, 3/8" Gas

2шт.

71

86539157

BREATHER,3/8" Gas

1шт.

72

87054108

WASHER,17.16mm ID x 22mm OD x 1mm Thk

2шт.

73

86539149

PLUG,3/8" BSPP

hex socket, gas 3/8" bspp

2шт.

Выбрано товаров: 39