Запчасти Case IH 1250 (37.140.01) - OPTION - NO MARKER SUITCASE BRACKETS - 24 ROW (37) - HITCHES, DRAWBARS & IMPLEMENT COUPLINGS

Схема запчастей Case IH 1250 - (37.140.01) - OPTION - NO MARKER SUITCASE BRACKETS - 24 ROW (37) - HITCHES, DRAWBARS & IMPLEMENT COUPLINGS
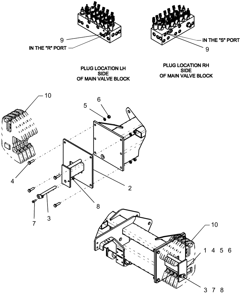
4
7
10
8
2
1
5
5
8
7
9
6
3
3
4
10
9
6
FIT
1:1
100%

Артикул

Название

Примечание

Количество

1

87557050

BRACKET

optionial suitcase weight LH

1шт.

2

87557034

BRACKET

optional suitcase weight RH

1шт.

3

87557043

PIN

weight bracket

2шт.

4

9706701

BOLT,Hex, 3/4" - 10 x 2 1/2", Gr 5

8шт.

5

87340

LOCK WASHER,Helical Spring, 0.759" ID, CST, ZND

8шт.

6

280954

NUT,3/4"-10, G5

8шт.

7

88275

BOLT,Hex, 5/16" - 18 x 1 1/2", Gr 5

2шт.

8

87333862

NUT

1/2"-13, GB

2шт.

9

214389

PLUG,3/4" - 16 ORB

2шт.

10

405846A3

WEIGHT

45 kg (100 lb)

8шт.

Not included, purchase separately

1шт.

Выбрано товаров: 0