Запчасти Case IH 1250 (39.110.07[02]) - FRAME - DRAFT TUBES - 24 ROW ASN Y8S007001 (39) - FRAMES AND BALLASTING

Схема запчастей Case IH 1250 - (39.110.07[02]) - FRAME - DRAFT TUBES - 24 ROW ASN Y8S007001 (39) - FRAMES AND BALLASTING
4
11
11
9
3
13
12
10
9
11
10
1
12
9
10
8
2
6
11
7
11
11
5
FIT
1:1
100%

Артикул

Название

Примечание

Количество

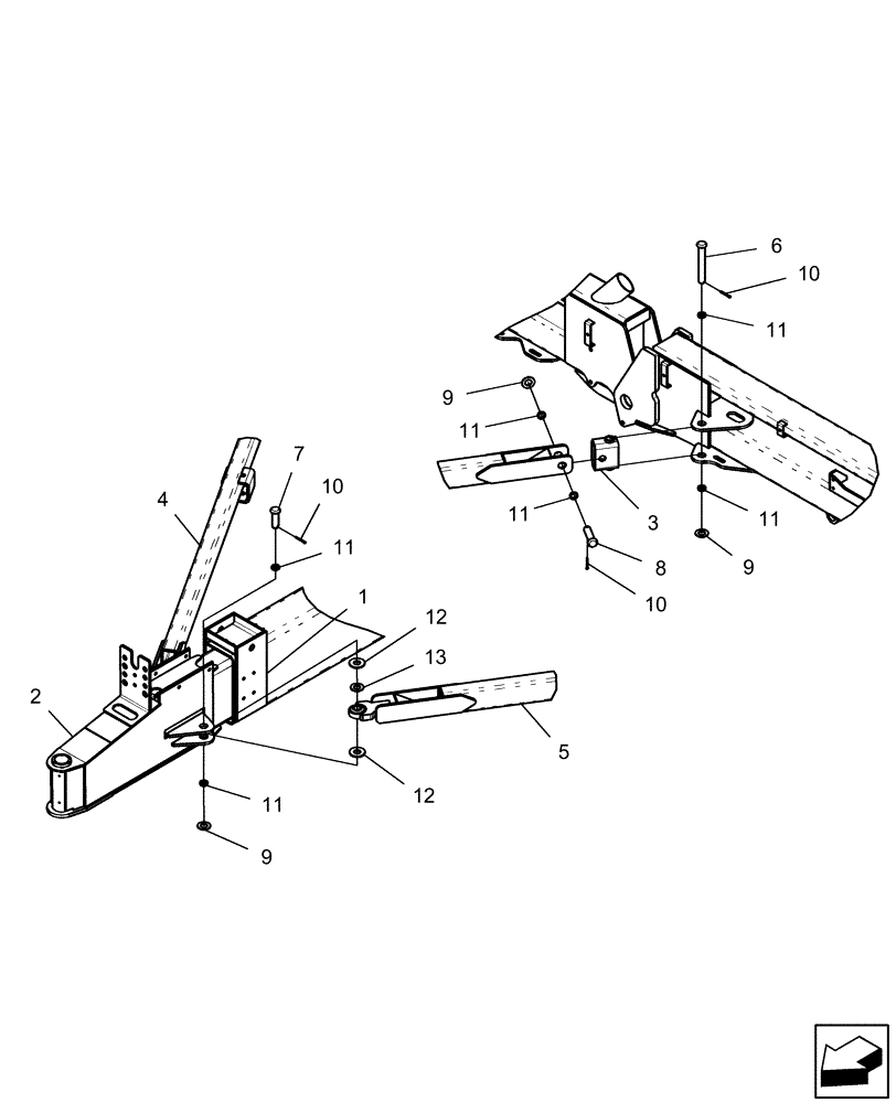
1

87540672

HITCH

outer 24 row

1шт.

2

87540674

HITCH

inner 24 row

1шт.

3

87540720

LINK

tube assembly

2шт.

4

87659533

TUBE

RH draft, with decal

1шт.

5

87659534

TUBE

LH draft, with decal

1шт.

6

87575683

HEADED PIN

1 1/4" x 8 3/4"

2шт.

7

87575682

HEADED PIN

1 1/4" x 3 3/4"

2шт.

8

87575681

HEADED PIN

1 1/4" x 4 3/4"

2шт.

9

496-11131

WASHER,1 5/16" x 2 1/2" x .150", HDN

6шт.

10

88182

COTTER PIN,1/4" OD x 2" L

6шт.

11

87504524

BUSHING

tension 38.1 mm x 31.75 mm x 12.75 mm long

12шт.

12

495-81301

WASHER,1 9/32" x 3" x 1/4"

4шт.

13

432582A1

WASHER,32.26mm ID x 63.5mm OD x 4.78mm Thk

1 17/64" id x 2 1/2" od x 3/16" thick

2шт.

Выбрано товаров: 13