Запчасти Case IH 1250 (39.110.10) - FRAME - POTENTIOMETER MOUNT - 24 ROW (39) - FRAMES AND BALLASTING

Схема запчастей Case IH 1250 - (39.110.10) - FRAME - POTENTIOMETER MOUNT - 24 ROW (39) - FRAMES AND BALLASTING
3
14
1
10
5
11
9
12
13
15
16
6
7
4
8
9
FIT
1:1
100%

Артикул

Название

Примечание

Количество

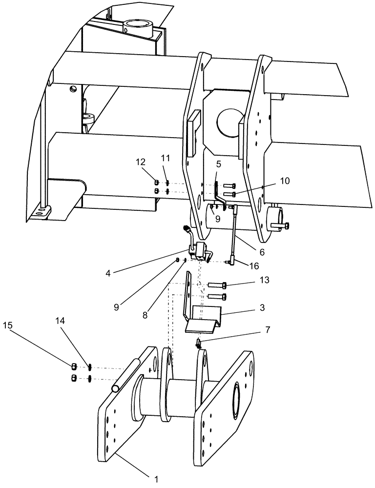
1

87546008

BRACKET

center LH

1шт.

Not Shown

1шт.

1

87546005

BRACKET

center RH

1шт.

3

87547765

BRACKET

Potentiometer Mount

1шт.

4

404202A1

SENSOR

rotary position

1шт.

5

87547766

BRACKET

stud mount

1шт.

6

127474A1

STUD

pot. control 1/4"-28 x 6"

1шт.

7

9707580

BOLT,Hex, 1/4" - 20 x 3/4", Gr 5, Full Thd

2шт.

8

80682

LOCK WASHER,1/4"

2шт.

9

86509309

NUT,1/4"-28, G5

2шт.

10

88011

BOLT,Hex, 3/8" - 16 x 1 1/4", Gr 5

2шт.

11

80680

LOCK WASHER,3/8 0.381 CST ZND

2шт.

12

9628503

NUT,3/8"-16, G5

2шт.

13

9706716

BOLT,Hex, 1/2" - 13 x 2", Gr 5

2шт.

14

80679

LOCK WASHER,1/20.507 CST ZND

2шт.

15

280431

NUT,1/2"-13, G5

2шт.

16

A10329

BALL JOINT,1/4" - 28 x 1"

socket .346"

2шт.

Выбрано товаров: 17