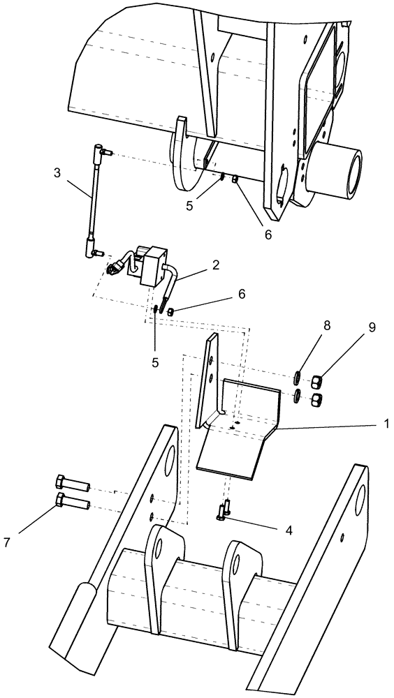
Запчасти Case IH 1250 (39.110.11) - FRAME - POTENTIOMETER MOUNT - 12 ROW AND 16 ROW (39) - FRAMES AND BALLASTING

Схема запчастей Case IH 1250 - (39.110.11) - FRAME - POTENTIOMETER MOUNT - 12 ROW AND 16 ROW (39) - FRAMES AND BALLASTING
7
3
5
6
4
2
6
8
9
1
5
FIT
1:1
100%

Артикул

Название

Примечание

Количество

1

87547765

BRACKET

Potentiometer Mount

1шт.

2

404202A1

SENSOR

rotary position

1шт.

3

127474A1

STUD

pot. control 1/4"-28 x 6"

1шт.

3

A10329

BALL JOINT,1/4" - 28 x 1"

socket .346"

1шт.

4

9707580

BOLT,Hex, 1/4" - 20 x 3/4", Gr 5, Full Thd

2шт.

5

80682

LOCK WASHER,1/4"

2шт.

6

86509309

NUT,1/4"-28, G5

2шт.

7

9707516

BOLT,1/2"-13 x 1-3/4", Cl 5

2шт.

8

80679

LOCK WASHER,1/20.507 CST ZND

2шт.

9

280431

NUT,1/2"-13, G5

2шт.

Выбрано товаров: 10