Качественные детали и логистика
Оригинальные и аналоговые запчасти с доставкой по России, Казахстану и Беларуси
©2022 PartSell ООО "Система" ИНН 2463123282 ОГРН 1212400004838
Центральный офис: г. Красноярск, Академика Киренского, д.87, пом.4
Телефон: 8 (800) 777-65-74 Email: zakaz@partsell.ru
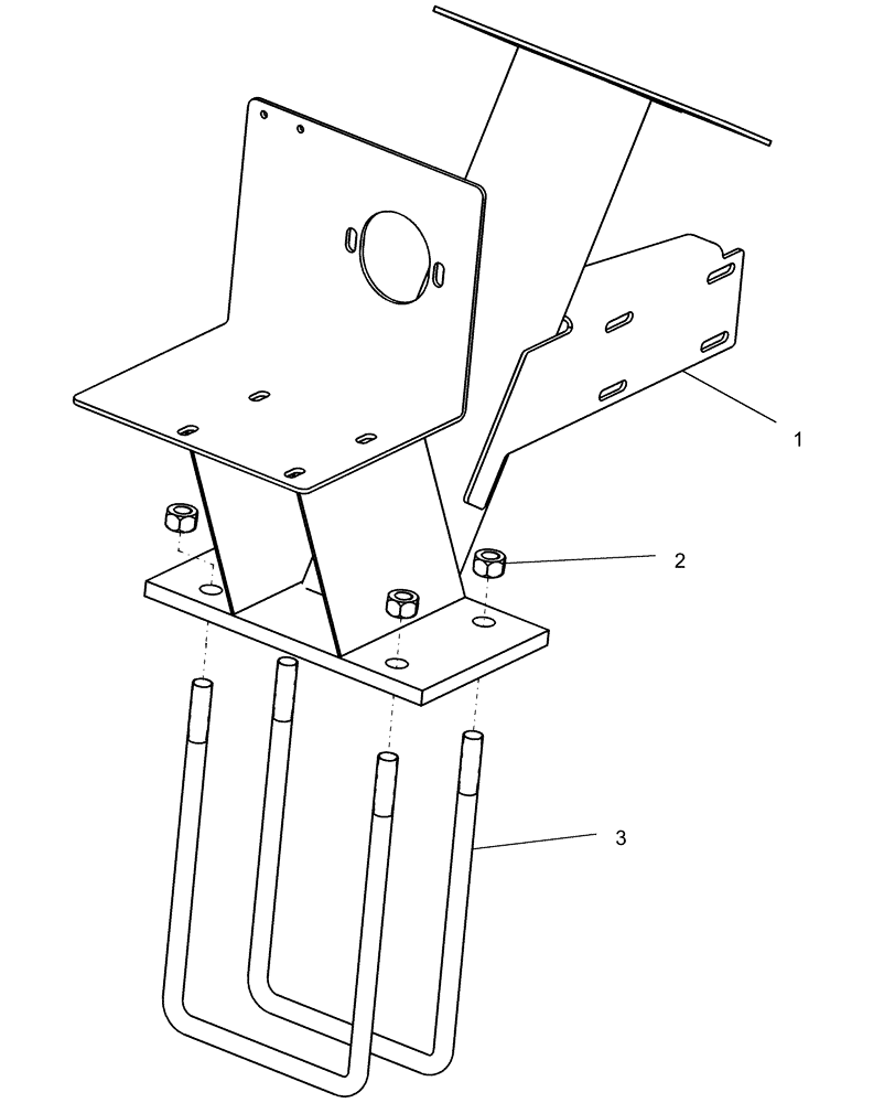
(39.110.17) - FRAME - PUMP MOUNTING 12 ROW, 16 ROW, 24 ROW
№
Артикул
Название
Примечание
Количество
1
87701729
BRACKET
fertilizer pump
1шт.
2
280954
NUT,3/4"-10, G5
4шт.
3
87671598
BOLT
us 3/4"-10 8 1/8" wide x 13 3/4" deep
2шт.
12 Row and 16 Row
87503060
U-BOLT
us 3/4"-10 x 8.1 wide x 17.75 deep
24 Row
Выбрано товаров: 0