Качественные детали и логистика
Оригинальные и аналоговые запчасти с доставкой по России, Казахстану и Беларуси
©2022 PartSell ООО "Система" ИНН 2463123282 ОГРН 1212400004838
Центральный офис: г. Красноярск, Академика Киренского, д.87, пом.4
Телефон: 8 (800) 777-65-74 Email: zakaz@partsell.ru
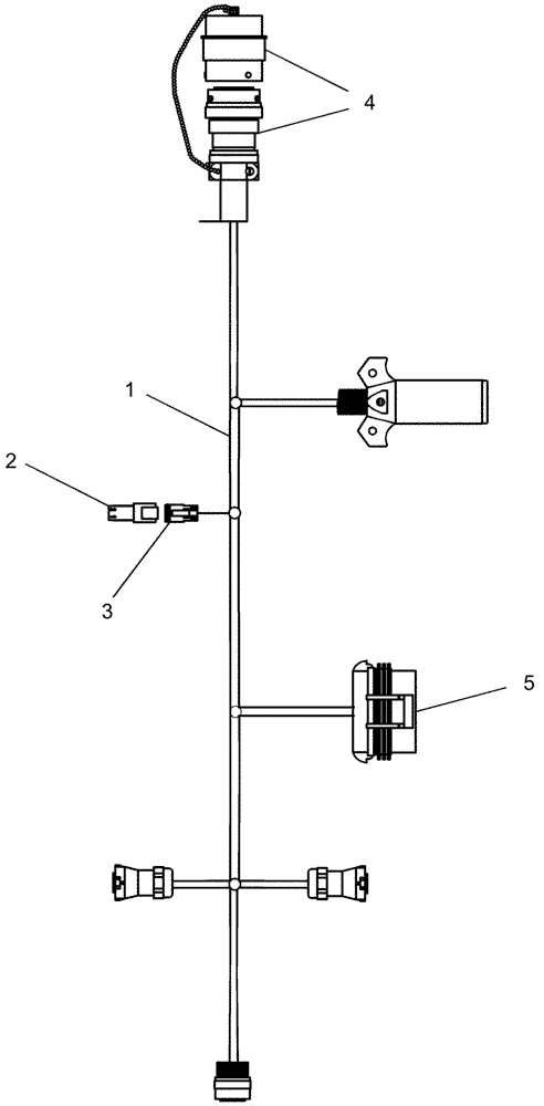
(55.100.01) - ELECTRICAL - HARNESS, POWER 87391698 - 24 ROW
№
Артикул
Название
Примечание
Количество
1
87391698
HARNESS
power 24 row
1шт.
2
225315C1
ELEC CONNECTOR,Male, 2 Pin
Cab Plastic Receptacle 2C
3
225316C1
ELEC CONNECTOR,Female, 2 Pin
2 Cavity
4
279043A1
ELEC CONNECTOR,Female, 9 Pin
metal 9c plug
5
182081A1
TERMINAL CONNECTOR,Female, 5 Pin
Tower 5-way Metri-pak
Выбрано товаров: 0