Качественные детали и логистика
Оригинальные и аналоговые запчасти с доставкой по России, Казахстану и Беларуси
©2022 PartSell ООО "Система" ИНН 2463123282 ОГРН 1212400004838
Центральный офис: г. Красноярск, Академика Киренского, д.87, пом.4
Телефон: 8 (800) 777-65-74 Email: zakaz@partsell.ru
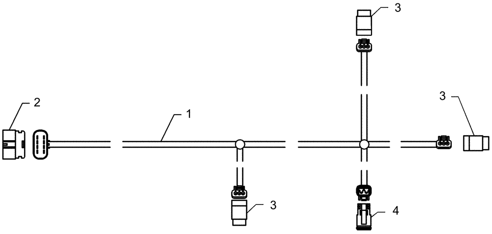
(55.100.10) - ELECTRICAL - HARNESS, BULK FILL 87575102 - 12, 16 AND 24 ROW ASN Y9S007000
№
Артикул
Название
Примечание
Количество
1
87575102
HARNESS
bulk fill, ISOBUS
1шт.
2
87533278
ELEC CONNECTOR,Male
3
87696551
CONTACT HOUSING,Female, 3 Pole
cab plastic plug 3c
3шт.
4
225316C1
ELEC CONNECTOR,Female, 2 Pin
2 Cavity
Выбрано товаров: 0