Запчасти Case IH 1250 (55.512.02) - ELECTRICAL - AFS PRO 600 MONITOR MOUNTING (55) - ELECTRICAL SYSTEMS

Схема запчастей Case IH 1250 - (55.512.02) - ELECTRICAL - AFS PRO 600 MONITOR MOUNTING (55) - ELECTRICAL SYSTEMS
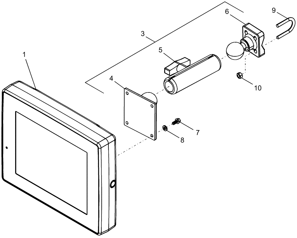
4
10
3
9
5
6
1
8
7
FIT
1:1
100%

Артикул

Название

Примечание

Количество

1

87387965

DISPLAY

AFS Pro 600, Years: -01-JUL-08

1шт.

1

87668597

CONTROL MONITOR

black touchscreen, Years: 01-JUL-08-01-AUG-08

1шт.

1

87385125R

REMAN-ELECT MONITOR

Reman-Monitor 1250 Front Fold Trailing Planter,Reman For New P/N 87668597

1шт.

1

87385125C

CORE-MONITOR

Return Part Number

1шт.

1

84126831

CONTROL MONITOR

DISPLAY Black Touchscreen, Start Year: 01-AUG-08

1шт.

This ECU does not contain any application software and **MUST** be programmed before use.

1шт.

If drop shipping, make arrangements for programming.

1шт.

1

87385125R

REMAN-ELECT MONITOR

Reman-Monitor 1250 Front Fold Trailing Planter, Reman For New P/N 84126831

1шт.

1

87385125C

CORE-MONITOR

Return Part Number

1шт.

1

87668610

DISPLAY

field service black, Years: 01-JUL-08-01-AUG-08

1шт.

1

87385125

DISPLAY

field service black, Start Year: 01-AUG-08

1шт.

1

87385125R

REMAN-ELECT MONITOR

Reman-Monitor 1250 Front Fold Trailing Planter

1шт.

1

87385125C

CORE-MONITOR

Return Part Number

1шт.

1

84604338R

REMAN-ELECT MONITOR

1250 (1/07), Reman For 87385125

1шт.

1

84604338C

CORE-MONITOR

Return Part Number

1шт.

3

87386396

MOUNT

Mount Color Display

1шт.

4

87386398

SUPPORTING ARM

Ram Square Mount, 75 x 75

1шт.

5

87284257

ARM

Supporting

1шт.

6

87284259

PLATE

Base, Double U-bolt

1шт.

7

86508568

BOLT,Hex, M6 x 1 x 16mm, Cl 8.8

4шт.

8

86588450

WASHER,6.6mm ID x 12mm OD x 1.6mm Thk

4шт.

9

435430A1

U-BOLT

ur 1/4" x 1" w x 1 3/4" d 1" thread

2шт.

10

7770

NUT,Hex, 1/4 - 20, Cl 5

4шт.

Выбрано товаров: 23