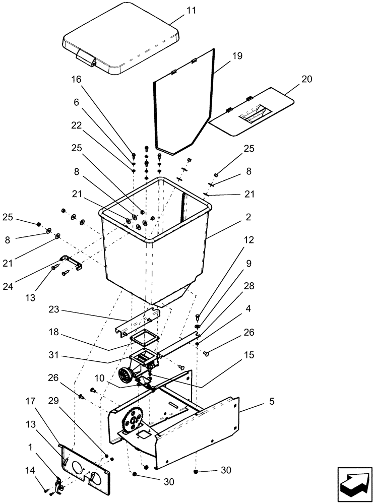
Запчасти Case IH 1250 (75.110.03) - GRANULAR CHEMICAL - ATTACHMENT, HOPPER AND SUPPORT (75) - SOIL PREPARATION

Схема запчастей Case IH 1250 - (75.110.03) - GRANULAR CHEMICAL - ATTACHMENT, HOPPER AND SUPPORT (75) - SOIL PREPARATION
13
25
8
26
11
12
20
2
23
30
6
30
10
16
25
8
29
25
15
28
22
31
21
14
13
4
1
9
5
17
24
8
19
26
18
21
21
FIT
1:1
100%

Артикул

Название

Примечание

Количество

1

5625

LATCH

clamp over center, Model Year 2011 And Prior

1шт.

1

383435A1

LATCH

Model Year 2012

1шт.

2

86991668

HOPPER

granular chemical

1шт.

4

87417490

WASHER,8.48mm ID x 12.7mm OD x 4mm Thk

.334" x .5" x .157"

2шт.

5

86990636

FRAME

granular hopper support

1шт.

6

86624137

WASHER,0.27" ID x 0.5" OD x 0.06" Thk

4шт.

8

495-81116

WASHER,8.74mm ID x 25.4mm OD x 1.7mm Thk

8шт.

9

80664

WASHER,0.38" ID x 0.88" OD x 0.08" Thk

2шт.

10

137044C1

NECK FILLER

funnelok

1шт.

11

409683A1

COVER

hopper, granular chemical

1шт.

12

87872

BOLT,Hex, 5/16" - 18 x 3/4", Gr 5

2шт.

13

9635884

BOLT,Hex, 5/16" - 18 1", Full Thd, Gr 5

4шт.

14

86624117

SCREW,Hex, #10 - 24 x 1/2"

2шт.

15

86624119

SELF-TAP SCREW,Hex Wash Hd, #12 x 3/8"

2шт.

16

86624115

SELF-TAP SCREW,HWH, 1/4" - 20 x 3/4"

4шт.

17

86990698

PLATE

support hopper

1шт.

18

134298C1

GASKET

hopper

1шт.

19

322859A3

DIVIDER

hopper

1шт.

20

333789A1

COVER

hopper divider

1шт.

21

134289C1

RUBBER WASHER

rubber

8шт.

22

134291C1

WASHER,7.1mm ID x 14mm OD x 1.52mm Thk

hopper

4шт.

23

86990645

RAIL ASSY.

hopper support LH

1шт.

24

333790A1

BRACKET

lid mounting

1шт.

25

86050277

NUT,5/16"-18, GB

8шт.

26

280497

CARRIAGE BOLT,Short Sq Nk, 5/16" - 18 x 3/4", Gr 5, Full Thd

6шт.

28

86990694

RAIL ASSY.

hopper support RH

1шт.

29

523310

SERRATED NUT,Flng, #10 - 24, Gr 5

flange, #10-24

2шт.

30

145458

SERRATED NUT,5/16"-18 GR 5 ZND

4шт.

31

137043C1

HOUSING

upper

1шт.

32

86624186

WASHER,0.41" ID x 1.12" OD x 0.13" Thk

, Start Year: 01-SEP-09

4шт.

Not shown - used on the 4 bolts that bolt the GC frame to the main row unit bathtub

1шт.

Выбрано товаров: 31