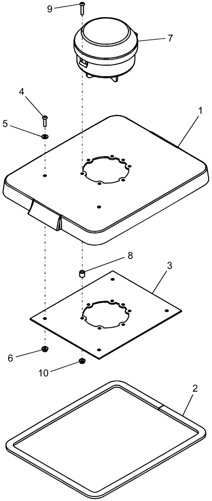
Запчасти Case IH 1250 (75.110.05) - GRANULAR CHEMICAL - ATTACHMENT, CLOSED (75) - SOIL PREPARATION

Схема запчастей Case IH 1250 - (75.110.05) - GRANULAR CHEMICAL - ATTACHMENT, CLOSED (75) - SOIL PREPARATION
6
8
2
1
4
3
10
9
7
5
FIT
1:1
100%

Артикул

Название

Примечание

Количество

0

336296A2

KIT

closed chem system

1шт.

1

335977A1

COVER

closed granular chemical system

1шт.

2

107173A1

SEALING STRIP

granular chemical hopper

1шт.

2

149577C2

SEALING STRIP

hopper 50' long

1шт.

3

106699A1

PLATE

hopper lid reinforcement

1шт.

4

85700333

SCREW,Pan, 1/4" - 20 x 1"

4шт.

5

87361

WASHER,0.28" ID x 0.62" OD x 0.07" Thk

4шт.

6

523282

SERRATED NUT,Flg, USR, 1/4"-20

4шт.

7

106696A1

VALVE

closed handling system

1шт.

8

27825R1

SPACER,8.5mm ID x 12.7mm OD x 12.7mm L

6шт.

9

87015126

SCREW,Pan, 1/4" - 20 x 1 1/4"

6шт.

10

86624020

FLANGE NUT,Flg, 1/4"-20.G5

6шт.

Выбрано товаров: 12