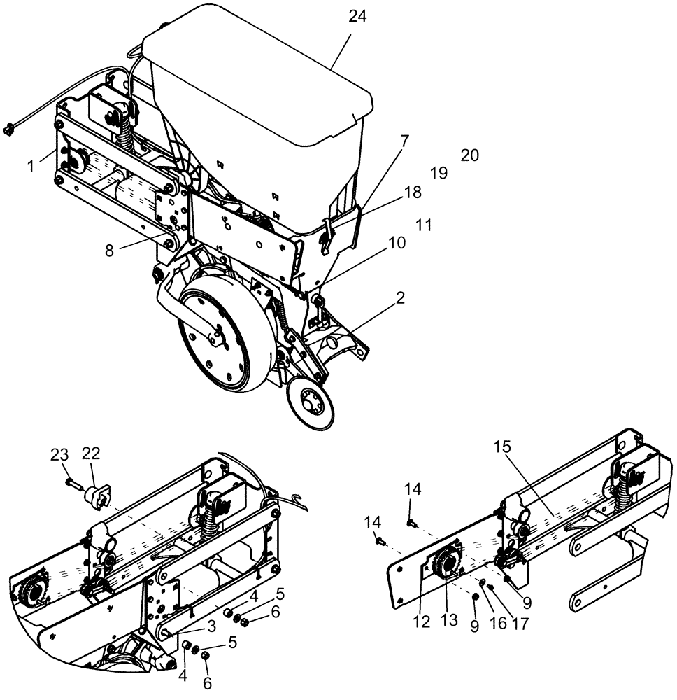
Запчасти Case IH 1250 (75.200.13) - ROW UNIT - WITH STANDARD LINKAGE AND ROW HOPPER (75) - SOIL PREPARATION

Схема запчастей Case IH 1250 - (75.200.13) - ROW UNIT - WITH STANDARD LINKAGE AND ROW HOPPER (75) - SOIL PREPARATION
18
16
11
8
9
4
5
5
14
12
23
19
2
14
3
4
6
10
15
17
24
1
6
13
22
20
7
9
FIT
1:1
100%

Артикул

Название

Примечание

Количество

1

NSS

NOT SOLD SEPARAT

no lockup

1шт.

2

NSS

NOT SOLD SEPARAT

disk lead RH

1шт.

3

88530

CARRIAGE BOLT,Sq Nk, 1/2" - 13 x 1 3/4", Gr 5

2шт.

4

1254302C1

BUSHING,13.5mm ID x 22.2mm OD x 16.7mm L

link pivot

4шт.

5

86632589

WASHER,0.53" ID x 1.06" OD x 0.1" Thk

4шт.

6

86992215

LOCK NUT,1/2"-13, GC

4шт.

7

197332A3

SUPPORT

assy hopper

1шт.

8

280643

BOLT,Hex, 3/8" - 16 x 7/8", Gr 5, Full Thd

6шт.

9

247780

SERRATED NUT,Flg, USR, 3/8"-16

8шт.

10

88043

BOLT,Hex, 1/2" - 13 x 3 1/4", Gr 5

1шт.

11

86512371

SERRATED NUT,Flg, USR, 1/2"-13

1шт.

12

303068A1

BRACKET

bearing spindle mount assembly

1шт.

13

87407490

SPROCKET

and bearing assembly

1шт.

14

80280503

CARRIAGE BOLT,Sht Sq Nk, 3/8" - 16 x 1", Gr 5, Full Thd

2шт.

15

352954A1

CHAIN (AG)

ASM meter drive (ext)

1шт.

Use 143 Links From 475879R91 Bulk Chain, Plus (1) 241-2314 Connecting Link

1шт.

15

475879R91

CHAIN (AG)

#41 - 10' s/p roller

1шт.

15

84373807

CHAIN

meter drive 20, Model Year 2012

1шт.

15

44428

CONNECTING LINK

#41 single pitch connecting

1шт.

16

86624140

WASHER,0.28" ID x 0.88" OD x 0.06" Thk

1шт.

17

86521549

BOLT,Hex, 1/4" - 20 x 1/2", Gr 5

1шт.

18

230311A1

CLAMP

hopper assembly

1шт.

19

86521550

BOLT,Hex, 1/4" - 20 x 3/4", Gr 5

2шт.

20

523282

SERRATED NUT,Flg, USR, 1/4"-20

2шт.

22

84472130

BUSHING

hopper pivot

2шт.

23

9706716

BOLT,Hex, 1/2" - 13 x 2", Gr 5

, Years: -01-JAN-08

2шт.

23

87975

BOLT,Hex, 1/2" - 13 x 2 1/4", Gr 5

, Start Year: 01-JAN-08

2шт.

24

NSS

NOT SOLD SEPARAT

meter assembly with 1.9 bu hopper

1шт.

Выбрано товаров: 28