Качественные детали и логистика
Оригинальные и аналоговые запчасти с доставкой по России, Казахстану и Беларуси
©2022 PartSell ООО "Система" ИНН 2463123282 ОГРН 1212400004838
Центральный офис: г. Красноярск, Академика Киренского, д.87, пом.4
Телефон: 8 (800) 777-65-74 Email: zakaz@partsell.ru
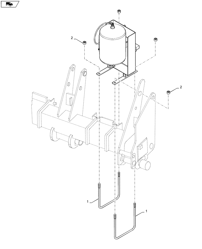
(75.200.29[03]) - PNEUMATIC DOWN PRESSURE - AIR TANK AND VALVE MOUNTING, MODEL YEAR 2011
№
Артикул
Название
Примечание
Количество
1
142372A1
U-BOLT
7 x 8 3/8-16 NC
2шт.
2
87039402
NUT,3/8"-16, GB
4шт.
Выбрано товаров: 0