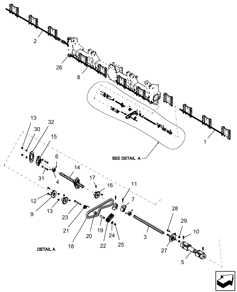
Запчасти Case IH 1250 (75.300.06) - DRIVELINE - 12 ROW HYDRAULIC DRIVE (75) - SOIL PREPARATION

Схема запчастей Case IH 1250 - (75.300.06) - DRIVELINE - 12 ROW HYDRAULIC DRIVE (75) - SOIL PREPARATION
19
28
9
21
12
27
24
20
2
1
13
30
10
7
17
23
29
18
22
32
14
25
8
11
5
13
26
16
6
15
3
4
31
FIT
1:1
100%

Артикул

Название

Примечание

Количество

1

87623391

SHAFT

hex 7/8" x 2026 mm

1шт.

2

87623391

SHAFT

hex 7/8" x 2026 mm

1шт.

3

87589426

SHAFT

hex 22.2 mm x 443 mm

2шт.

4

22224

COLLAR

lock, 7/8" id

14шт.

5

87444140

DRIVE SHAFT

telescoping

2шт.

6

84-1256

SET SCREW,Hex Soc, 1/4"-28 x 3/8"

28шт.

7

87539852

COUPLING

cross over drive

4шт.

8

87640587

SHAFT

hex 7/8" x 1475 mm

2шт.

9

134158C92

BALL BEARING,22.5mm ID

7/8 hex flange

2шт.

10

86542823

SET SCREW,Sq Hd, 3/8"-16 x 7/8", Cup Pt

4шт.

11

87016635

PIN,6.35mm OD x 38.1mm L

, Years: -01-MAR-10

4шт.

11

87404

BOLT,Hex, 1/4" - 20 x 2", Gr 5

, Start Year: 01-APR-10

4шт.

11

20356

NUT,1/4"-20, GB

, Start Year: 01-APR-10

4шт.

12

88992

CARRIAGE BOLT,Short Sq Nk, 5/16" - 18 x 1", Gr 5

4шт.

13

86521605

FLANGE NUT,5/16"-18, Cl 5

12шт.

14

87557041

SHAFT

hex 22 mm x 348 mm

2шт.

15

87673199

BALL BEARING,22.25mm ID

7/8" hex bore, 2 slot

4шт.

16

437627A1

SPROCKET

#40 18 tooth

4шт.

17

86624123

SET SCREW,Hex Skt, 1/2" - 13 x 1/2"

8шт.

18

1790D

CHAIN (AG)

#40 bulk, 10' roll

2шт.

Use 71 links

1шт.

18

25195

LINK,12.7mm Pitch

roller conn 40-1

2шт.

19

84225052

BUSHING,12.57mm ID x 15.88mm OD x 51mm L

tensioner pivot

2шт.

20

87477259

BUSHING

tensioner pivot

2шт.

21

87624897

TENSION SPRING

.102 wire x 28.4 mm id x 25 mm long LH

1шт.

22

87458905

ROLLER

chain tension

2шт.

23

9637240

BOLT,Hex, 3/8" - 16 x 3 1/4", Gr 5

2шт.

24

80702

WASHER,0.44" ID x 1" OD x 0.08" Thk

2шт.

25

231-1446

NUT,3/8" - 16, Gr 5

2шт.

26

87624898

TENSION SPRING

.102 mm wire x 28.4 mm id x 25 mm long RH

1шт.

27

102724A2

BALL BEARING,22.6mm ID

7/8" hex bore with hanger

2шт.

28

88206

BOLT,Hex, 3/8" - 16 x 1", Gr 5

4шт.

29

247780

SERRATED NUT,Flg, USR, 3/8"-16

4шт.

30

87016603

WASHER,0.34" ID x 0.69" OD x 0.07" Thk

16шт.

31

88275

BOLT,Hex, 5/16" - 18 x 1 1/2", Gr 5

8шт.

32

87725549

SPACER

bearing

4шт.

Выбрано товаров: 36