Запчасти Case IH 1250 (80.150.24) - BULK FILL - SHUT-OFF SEED DOOR ASN Y9S007001 (80) - CROP STORAGE/UNLOADING

Схема запчастей Case IH 1250 - (80.150.24) - BULK FILL - SHUT-OFF SEED DOOR ASN Y9S007001 (80) - CROP STORAGE/UNLOADING
4
8
5
8
9
10
7
3
2
1
6
FIT
1:1
100%

Артикул

Название

Примечание

Количество

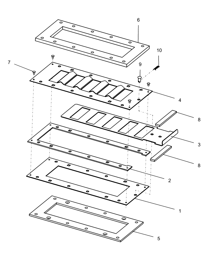
1

87450860

SUPPORT

seed gate

1шт.

2

87470264

GUIDE

seed gate

1шт.

3

87450866

PLATE

gate seed

1шт.

4

87450869

PLATE

grating seed control

1шт.

5

87445220

GASKET

bottom

1шт.

6

87445221

GASKET

top

1шт.

7

449-36

RIVET,Truss Hd, 3/16" x 3/8"

4шт.

8

87445222

GASKET

seed gate

2шт.

9

86624060

HEADED PIN,3/8" x 3/4", G2

1шт.

10

86624096

COTTER PIN,Int, 3/16 x .080"

1шт.

Выбрано товаров: 10