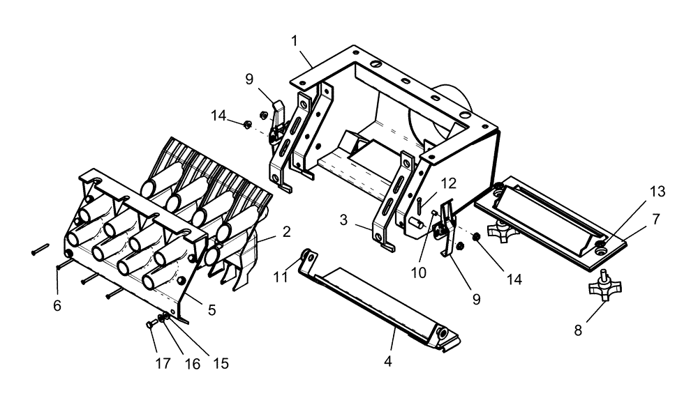
Запчасти Case IH 1250 (80.150.26[01]) - BULK FILL - SEED BOX 16 ROW BSN Y9S007001 (80) - CROP STORAGE/UNLOADING

Схема запчастей Case IH 1250 - (80.150.26[01]) - BULK FILL - SEED BOX 16 ROW BSN Y9S007001 (80) - CROP STORAGE/UNLOADING
13
8
14
15
14
5
1
7
16
12
9
10
11
2
9
17
3
6
4
FIT
1:1
100%

Артикул

Название

Примечание

Количество

0

87443936

DISTRIBUTOR

bulk seed assembly

1шт.

1

87443940

HOUSING

8 port seed box

1шт.

0

87504313

DISTRIBUTOR

8 Port Seed

1шт.

2

87444532

MANIFOLD

segmented inductor

4шт.

3

407094A2

GASKET

neoprene front black 1 1/4" w x 9 5/8" l x 1/4"

2шт.

4

NSS

NOT SOLD SEPARAT

1шт.

4

87443949

GASKET

bottom cover

1шт.

4

87443947

COVER PLATE

bottom

1шт.

5

443185A2

COVER

distributor front

1шт.

6

87017483

SELF-TAP SCREW,Cross Oval Hd, #8 x 1 3/4"

4шт.

7

NSS

NOT SOLD SEPARAT

1шт.

7

87443767

GASKET

access hatch, Years: -01-AUG-08

1шт.

7

87494219

GASKET

8 port hatch, Start Year: 01-AUG-08

1шт.

7

87443965

PANEL

access 8 port seed box

1шт.

8

87446077

KNOB

3/8"-16 x 1" stud

2шт.

9

230311A1

CLAMP

hopper assembly

2шт.

10

88769

HEX SOC SCREW,BTN HD, 1/4" - 20 x 1/2"

4шт.

11

87364

WASHER,0.53" ID x 1.06" OD x 0.1" Thk

2шт.

12

87397

COTTER PIN,3/16" OD x 1" L

2шт.

13

87446196

RETAINER

nut, push-on 3/8"

2шт.

14

523282

SERRATED NUT,Flg, USR, 1/4"-20

4шт.

15

21676

RUBBER WASHER

1/4"id 5/8" 7/16"tk

8шт.

16

87361

WASHER,0.28" ID x 0.62" OD x 0.07" Thk

8шт.

17

9707580

BOLT,Hex, 1/4" - 20 x 3/4", Gr 5, Full Thd

8шт.

Выбрано товаров: 24