Запчасти Case IH 1250 (35.138.23) - HYDRAULICS - FLOW CONTROL VALVE - 115885A1 (35) - HYDRAULIC SYSTEMS

Схема запчастей Case IH 1250 - (35.138.23) - HYDRAULICS - FLOW CONTROL VALVE - 115885A1 (35) - HYDRAULIC SYSTEMS
3
16
9
16
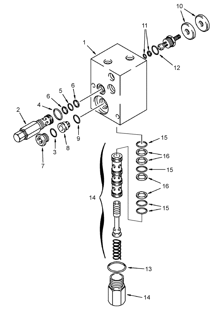
1
10
12
6
7
8
11
5
2
4
13
15
15
14
6
14
15
FIT
1:1
100%

Артикул

Название

Примечание

Количество

0

84226974

FLOW CONTROL VALVE

hydraulic flow control

1шт.

1

NSS

NOT SOLD SEPARAT

body, Flow Control Valve

1шт.

2

84306362

VALVE PRESSURE RELIE

valve flow control relief

1шт.

3

167269

O-RING,0.097" Thk x 0.755" ID, -910, Cl 6, 90 Duro

1шт.

4-6

84311327

SEAL KIT

relief valve

1шт.

4

NSS

NOT SOLD SEPARAT

o-ring, Body, Large

1шт.

5

NSS

NOT SOLD SEPARAT

o-ring, Body, Small

1шт.

6

NSS

NOT SOLD SEPARAT

ring Backup, Small O-Ring

2шт.

7

86590562

PLUG,Hex Soc, 3/4" - 16 ORB

1шт.

7

278548

PLUG,Hex, 7/16"-20 ORB

1шт.

8

84306387

CHECK VALVE

check cartridge

1шт.

Includes O-ring

1шт.

9

84311327

SEAL KIT

kit, Danfoss check

1шт.

10

84306395

CONTROL VALVE

handknob

1шт.

11-16

84311329

SEAL KIT

Danfoss relief o-rings

1шт.

11

NSS

NOT SOLD SEPARAT

body, Flow Control Adjustment

1шт.

12

NSS

NOT SOLD SEPARAT

o-ring, Flow Control Adjustment Body

1шт.

13

NSS

NOT SOLD SEPARAT

o-ring, Flow Regulator Valve Body

1шт.

14

84306368

NEEDLE VALVE

valve, Flow Regulator

1шт.

15

NSS

NOT SOLD SEPARAT

o-ring, Flow Regulator Valve Spool

4шт.

16

NSS

NOT SOLD SEPARAT

o-ring, Backup, Valve Spool

4шт.

Выбрано товаров: 21