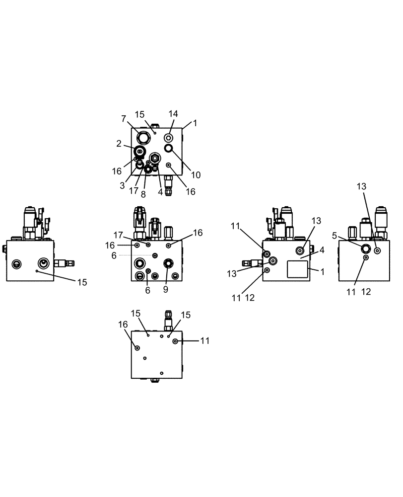
Запчасти Case IH 1250 (35.138.24) - HYDRAULICS - VALVE ASSEMBLY MULTI-VALVE BLOCK - 87575909 (35) - HYDRAULIC SYSTEMS

Схема запчастей Case IH 1250 - (35.138.24) - HYDRAULICS - VALVE ASSEMBLY MULTI-VALVE BLOCK - 87575909 (35) - HYDRAULIC SYSTEMS
3
13
15
12
16
13
11
1
16
7
15
11
4
16
1
17
17
11
6
4
15
11
6
16
10
12
15
9
16
2
5
8
14
13
FIT
1:1
100%

Артикул

Название

Примечание

Количество

0

87575909

VALVE

assembly Multi-Valve, PTO drive

1шт.

1

NSS

NOT SOLD SEPARAT

Label

1шт.

2

304495A3

VALVE

cartridge, flow control

1шт.

304495A3R

REMAN-HYD VALVE

1250 RISER® SERIES (1/07-)

1шт.

304495A3C

CORE-VALVE HYD

Return Number

1шт.

84537688R

REMAN-HYD VALVE

1250 FRONT FOLD TRAILING PLANTER EARLY RISER® SERIES (1/07-), Reman For New P/N 304495A3

1шт.

84537688C

CORE-VALVE HYD

Return Number

1шт.

3

86511474

CHECK VALVE

Coast

1шт.

4

254969A2

HYDRAULIC VALVE

flow control cartridge

1шт.

5

87506124

VALVE

differential pressure sensing

1шт.

6

1341811C1

SPRING-CHECK

REPAIR KIT sense check

2шт.

7

335894A1

VALVE

flow limiter

1шт.

8

304421A1

VALVE

flow regulator

1шт.

9

304420A1

VALVE

assembly unloading differential pressure sensing

1шт.

10

304419A1

VALVE PRESSURE RELIE

assembly

1шт.

11

9625178

PLUG,9/16" - 18 ORB

4шт.

12

NSS

NOT SOLD SEPARAT

2шт.

13

86590562

PLUG,Hex Soc, 3/4" - 16 ORB

3шт.

14

86590562

PLUG,Hex Soc, 3/4" - 16 ORB

1шт.

15

NSS

NOT SOLD SEPARAT

4шт.

16

87035062

PLUG,Hex, 1/2"-20 ORB

5шт.

17

278548

PLUG,Hex, 7/16"-20 ORB

2шт.

Выбрано товаров: 22