Качественные детали и логистика
Оригинальные и аналоговые запчасти с доставкой по России, Казахстану и Беларуси
©2022 PartSell ООО "Система" ИНН 2463123282 ОГРН 1212400004838
Центральный офис: г. Красноярск, Академика Киренского, д.87, пом.4
Телефон: 8 (800) 777-65-74 Email: zakaz@partsell.ru
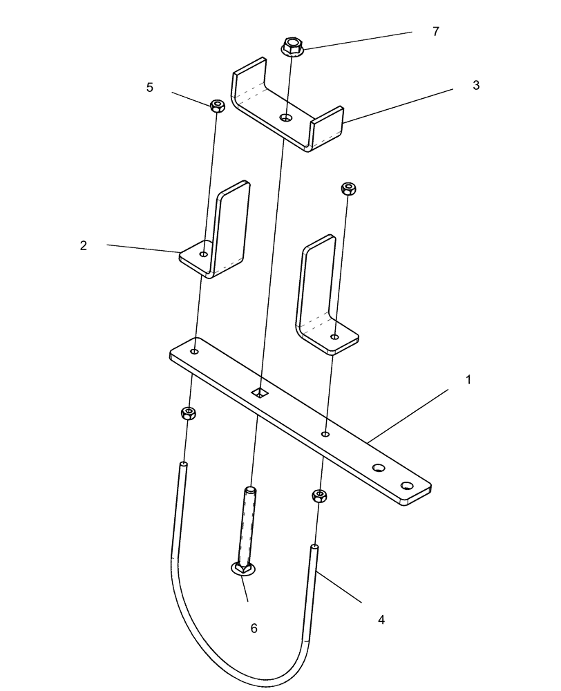
(39.100.28) - FRAME - SUPPORT ASSEMBLY VACUUM AND HYDRAULIC HOSE
№
Артикул
Название
Примечание
Количество
1
84138693
SUPPORT
vacuum, hydraulic hose
1шт.
2
84138694
ANGLE
hose support
2шт.
3
84138695
BRACKET, SUPPORTING
Hose
4
84125926
U-BOLT
ur 1/4"-20 x 160 mm id x 183.8 mm legs
5
7770
NUT,Hex, 1/4 - 20, Cl 5
4шт.
6
515-23317
CLAMP,31.75mm ID, 10.3mm Bolt Hole, P Type
7
280348
CARRIAGE BOLT,Short Nk, 3/8" - 16 x 3 1/2", Gr 5
8
247780
SERRATED NUT,Flg, USR, 3/8"-16
Выбрано товаров: 0