Качественные детали и логистика
Оригинальные и аналоговые запчасти с доставкой по России, Казахстану и Беларуси
©2022 PartSell ООО "Система" ИНН 2463123282 ОГРН 1212400004838
Центральный офис: г. Красноярск, Академика Киренского, д.87, пом.4
Телефон: 8 (800) 777-65-74 Email: zakaz@partsell.ru
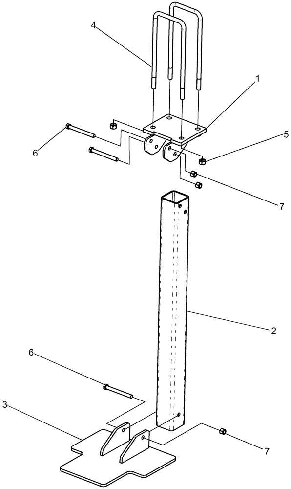
(05.400.01) - SHIPPING STAND ASSEMBLY
№
Артикул
Название
Примечание
Количество
1
84207813
BASE
Shipping Stand Top
1шт.
2
84239172
TUBE,1230 mm L
Shipping, HSS 4 x 4
3
84207814
Shipping Stand, Bottom
4
87502980
U-BOLT
3/4" x 6 1/8" x 15 3/4"
2шт.
5
280954
NUT,3/4"-10, G5
4шт.
6
88264
BOLT,Hex, 5/8" - 11 x 6", Gr 5
3шт.
7
85700693
NUT,5/8" - 11, Gr C
Выбрано товаров: 0