Запчасти Case IH 1260 (55.512.12[01]) - ELECTRICAL - TOOLBAR HARNESS 60 / 66 (55) - ELECTRICAL SYSTEMS

Схема запчастей Case IH 1260 - (55.512.12[01]) - ELECTRICAL - TOOLBAR HARNESS 60 / 66 (55) - ELECTRICAL SYSTEMS
6
7
7
14
7
1
5
4
6
6
7
13
8
16
6
6
11
6
10
3
2
7
7
11
7
6
6
9
12
15
14
15
FIT
1:1
100%

Артикул

Название

Примечание

Количество

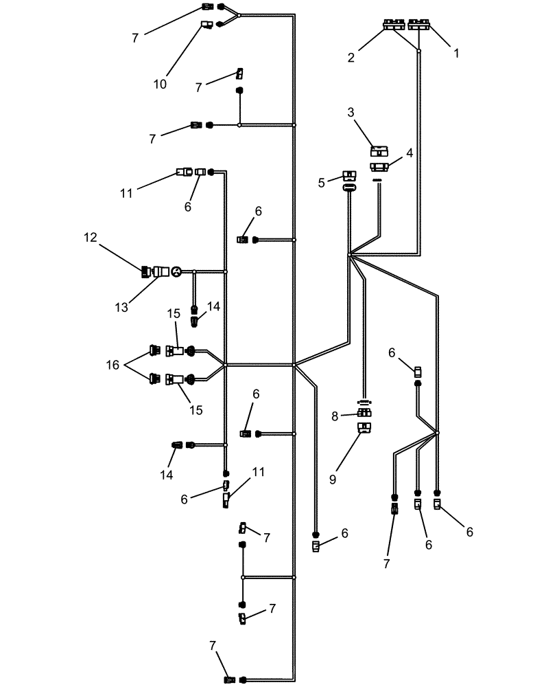
0

87493970

HARNESS

toolbar 60' / 66' VR

1шт.

1

87268797

MULTIPOLE CONNECTOR,Female, 30 Pole

30c b plug

1шт.

2

87268798

MULTIPOLE CONNECTOR,Female, 30 Pole

30c plug b key

1шт.

3

87533279

ELEC CONNECTOR,Male

1шт.

4

87541129

ELEC CONNECTOR,Female

1шт.

5

87533278

ELEC CONNECTOR,Male

1шт.

6

87696551

CONTACT HOUSING,Female, 3 Pole

cab plastic plug 3c

8шт.

7

225316C1

ELEC CONNECTOR,Female, 2 Pin

2 Cavity

7шт.

8

87540289

ELEC CONNECTOR,Female

1шт.

9

87533278

ELEC CONNECTOR,Male

1шт.

10

9842512

ELEC CONNECTOR,Female, 16

3 Junct

1шт.

11

87696545

CONTACT HOUSING,Male, 3 Pole

cab plastic rcp 3c

2шт.

12

225291C1

DUST CAP

calibration switch

1шт.

13

795231

TERMINAL CONNECTOR,Female, 16 SAE

plastic 3c plug

1шт.

14

198456A1

ELEC CONNECTOR,Female

3-Way Receptacle ES-A7380

2шт.

15

296483A1

ELEC CONNECTOR,Male, 5 Pin

Packard 150 series receptacle

1шт.

16

296482A1

ELEC CONNECTOR,Female, 5 Pin

Packard 150 series plug

1шт.

Выбрано товаров: 17