Запчасти Case IH 1260 (55.512.12[02]) - ELECTRICAL - TOOLBAR HARNESS 80 / 90 (55) - ELECTRICAL SYSTEMS

Схема запчастей Case IH 1260 - (55.512.12[02]) - ELECTRICAL - TOOLBAR HARNESS 80 / 90 (55) - ELECTRICAL SYSTEMS
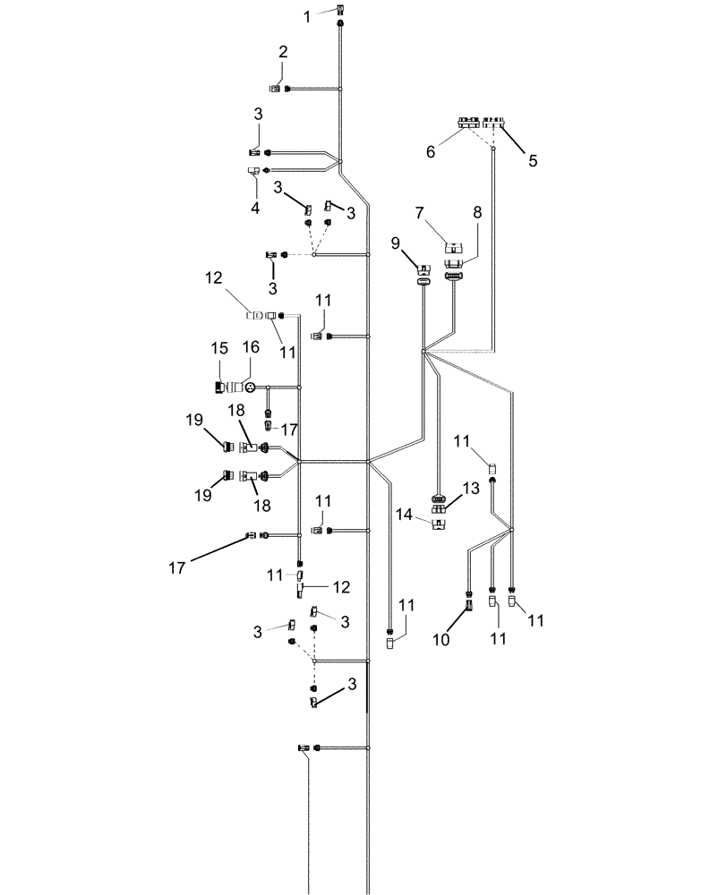
1
14
18
9
17
3
11
12
8
11
11
11
3
11
2
13
3
19
7
17
18
4
10
5
3
11
19
11
12
3
11
15
3
3
16
6
11
3
3
FIT
1:1
100%

Артикул

Название

Примечание

Количество

0

87493968

HARNESS

toolbar 80' / 90'

1шт.

1

225316C1

ELEC CONNECTOR,Female, 2 Pin

2 Cavity

1шт.

2

87696551

CONTACT HOUSING,Female, 3 Pole

cab plastic plug 3c

1шт.

3

225316C1

ELEC CONNECTOR,Female, 2 Pin

2 Cavity

8шт.

4

9842512

ELEC CONNECTOR,Female, 16

3 Junct

1шт.

5

87268797

MULTIPOLE CONNECTOR,Female, 30 Pole

30c b plug

1шт.

6

87268798

MULTIPOLE CONNECTOR,Female, 30 Pole

30c plug b key

1шт.

7

87533279

ELEC CONNECTOR,Male

1шт.

8

87541129

ELEC CONNECTOR,Female

1шт.

9

87533278

ELEC CONNECTOR,Male

1шт.

10

225316C1

ELEC CONNECTOR,Female, 2 Pin

2 Cavity

1шт.

11

87696551

CONTACT HOUSING,Female, 3 Pole

cab plastic plug 3c

9шт.

12

87696545

CONTACT HOUSING,Male, 3 Pole

cab plastic rcp 3c

2шт.

13

87540289

ELEC CONNECTOR,Female

1шт.

14

87533278

ELEC CONNECTOR,Male

1шт.

15

225291C1

DUST CAP

calibration switch

1шт.

16

795231

TERMINAL CONNECTOR,Female, 16 SAE

plastic 3c plug

1шт.

17

198456A1

ELEC CONNECTOR,Female

3-Way Receptacle ES-A7380

2шт.

18

296483A1

ELEC CONNECTOR,Male, 5 Pin

Packard 150 series receptacle

2шт.

19

296482A1

ELEC CONNECTOR,Female, 5 Pin

Packard 150 series plug

2шт.

Выбрано товаров: 20