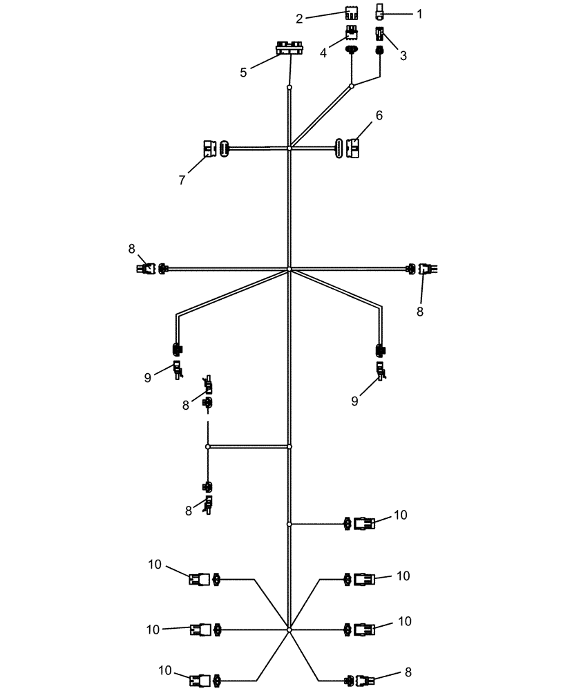
Запчасти Case IH 1260 (55.512.13) - ELECTRICAL - FRAME HARNESS (55) - ELECTRICAL SYSTEMS

Схема запчастей Case IH 1260 - (55.512.13) - ELECTRICAL - FRAME HARNESS (55) - ELECTRICAL SYSTEMS
9
6
10
2
7
9
10
8
8
10
8
10
3
5
10
8
10
8
1
4
FIT
1:1
100%

Артикул

Название

Примечание

Количество

0

87493967

HARNESS

frame

1шт.

1

225315C1

ELEC CONNECTOR,Male, 2 Pin

Cab Plastic Receptacle 2C

1шт.

2

245485C1

ELEC CONNECTOR,Male, 3 Pin

plastic 3c receptacle

1шт.

3

225316C1

ELEC CONNECTOR,Female, 2 Pin

2 Cavity

1шт.

4

87644909

WIRE CONNECTOR,Female, 3 Pins

plastic 3c plug

1шт.

5

87268798

MULTIPOLE CONNECTOR,Female, 30 Pole

30c plug b key

1шт.

6

87541128

ELEC CONNECTOR,Male

1шт.

7

87533278

ELEC CONNECTOR,Male

1шт.

8

87692855

CONTACT HOUSING,Male, 2 Cavities

plastic 2c plug

5шт.

9

87644909

WIRE CONNECTOR,Female, 3 Pins

plastic 3c plug

2шт.

10

87692877

MULTIPOLE CONNECTOR,Male, 2 Cavities

plastic 2c receptacle

6шт.

Выбрано товаров: 11