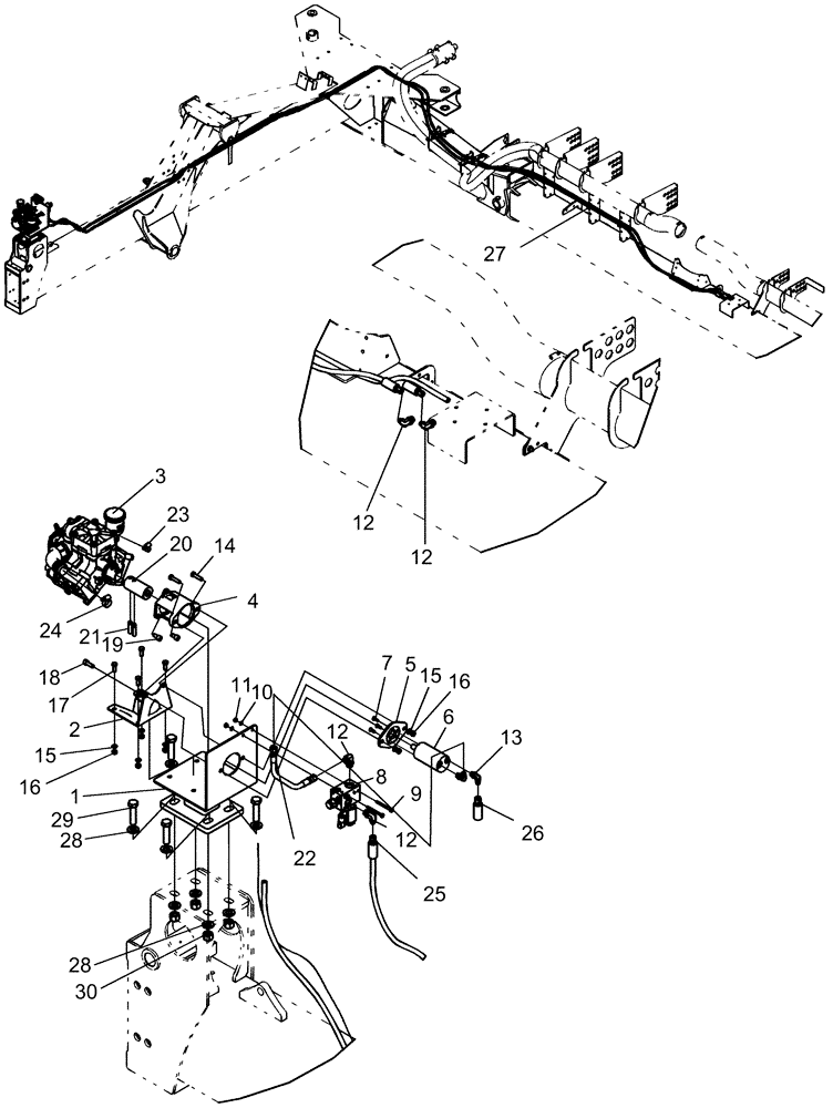
Запчасти Case IH 1260 (75.110.12) - LIQUID FERTILIZER - PUMP LIQUID TANK (75) - SOIL PREPARATION

Схема запчастей Case IH 1260 - (75.110.12) - LIQUID FERTILIZER - PUMP LIQUID TANK (75) - SOIL PREPARATION
27
15
21
10
22
19
29
18
2
12
28
26
4
12
24
23
11
12
1
17
6
14
5
16
12
25
15
20
8
3
13
9
16
28
30
7
FIT
1:1
100%

Артикул

Название

Примечание

Количество

1

84223131

SUPPORT

Fertilizer Pump

1шт.

2

408358A1

BASE

mount pump kit

1шт.

3

87504661

PUMP

30 gpm diaphragm

1шт.

4

86990284

FLANGE

motor mounting

1шт.

5

400300A1

FLANGE

mounting znd

1шт.

6

284797A1

MOTOR

19.8 cm³ (1.21 in³) disp fert drive

1шт.

6

284797A1R

REMAN-HYD MOTOR

1260 FRONT FOLD TRAILING PLANTER EARLY RISER® SERIES, 19.8 cm³ (1.21 in³) disp fert drive (1/10-)

1шт.

6

284797A1C

CORE-MOTOR HYDRAULIC

Return Number

1шт.

7

87659

HEX SOC SCREW,FLAT, 1/4" - 28 x 3/4"

3шт.

8

419865A1

CONTROL VALVE

assembly flow variable rate

1шт.

9

280566

BOLT,Hex, 1/4" - 20 x 2 3/4", Gr 5

2шт.

10

80682

LOCK WASHER,1/4"

2шт.

11

7770

NUT,Hex, 1/4 - 20, Cl 5

2шт.

12

87329788

90 ELBOW,90 Degree, 9/16"-18, 37 Degree x 3/4"-16, O-Ring

4шт.

13

76344

90 ELBOW,9/16" - 18 JIC x 9/16" - 18 ORB

2шт.

14

88044

BOLT,Hex, 3/8" - 16 x 1-1/2", Gr 5

2шт.

15

80680

LOCK WASHER,3/8 0.381 CST ZND

6шт.

16

9628503

NUT,3/8"-16, G5

6шт.

17

88206

BOLT,Hex, 3/8" - 16 x 1", Gr 5

4шт.

18

9832986

HEX SOC SCREW,M10 x 30mm, Cl 8.8

Hex Soc Hd, M10 x 30, 8.8

1шт.

19

86632600

HEX SOC SCREW,M10 x 20mm, Cl 8.8

2шт.

20

400299A2

COUPLING

, Serial Range: pump-motor

1шт.

21

13916870

ROLL PIN,M10 x 45, Coiled

2шт.

22

1336840C1

HYDRAULIC HOSE

3/8" x 25" fl

1шт.

23

87625624

HOSE CLAMP,14.2mm ID - 26.9mm ID, SAE #10

1шт.

24

513309

HOSE CLAMP,1-1/16” - 2”, Worm Gear

1шт.

25

87536727

HYDRAULIC HOSE

10 x 11100 mm fl

1шт.

26

87536727

HYDRAULIC HOSE

10 x 11100 mm fl

1шт.

27

87482623

CLAMP

agriculture large

3шт.

28

86624162

WASHER,0.81" ID x 1.5" OD x 0.18" Thk

8шт.

29

87337

BOLT,Hex, 3/4" - 10 x 3", Gr 5

4шт.

30

231-42412

NUT,3/4"-10, GB

4шт.

Выбрано товаров: 32