Запчасти Case IH 1260 (75.200.02) - ROW UNIT - LEAD (75) - SOIL PREPARATION

Схема запчастей Case IH 1260 - (75.200.02) - ROW UNIT - LEAD (75) - SOIL PREPARATION
15
19
18
16
40
6
35
30
22
37
21
75.200.37
75.200.37
21
42
20
25
12
1
32
10
5
38
6
34
31
26
41
2
36
33
28
2
11
3
16
25
22
9
27
24
12
14
39
8
13
7
24
17
4
22
23
29
FIT
1:1
100%

Артикул

Название

Примечание

Количество

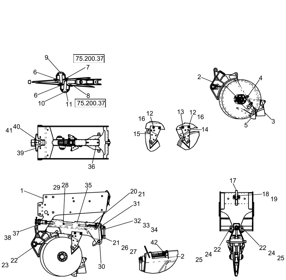
1

87684860

FRAME

row unit assembly, Model Year 2011 And Prior

1шт.

1

84351569

FRAME

row unit assembly, Model Year 2012

1шт.

2

436708A1

SUPPORT

cast disc LH

1шт.

2

436709A1

SUPPORT

cast disc RH

1шт.

3

84243285

SHOE

Assembly, Seed With In Furrow Fertilizer Slot

1шт.

4

1263977C1

BOLT

lk 3/8"-16 x 3/4", G8 with chemical lock

2шт.

5

436702A1

POINT

cast furrow point, complete

1шт.

6

1268381C1

WASHER,16.66mm ID x 25.4mm OD x 0.05mm Thk

21/32" id x 1" od x .054 hardened

3шт.

7

87715051

DISC

H.D. OPENER DISK ASSY LEADING, Years: -01-MAR-10

1шт.

See Figure 75.200.37

1шт.

7

84261766

DISC

OPENER ASSY, 14" HD LEADING, Start Year: 01-APR-10

1шт.

See Figure 75.200.37

1шт.

7

84398745

DISC

OPENER ASSY, 14" HD LEADING, Start Year: 01-APR-13

1шт.

See Figure 75.200.37

1шт.

8

87715053

DISC

14" trailing heavy, Years: -01-MAR-10

1шт.

See Figure 75.200.37

1шт.

8

84261767

DISC

OPENER ASSY, 14" HD TRAILING, Start Year: 01-APR-10

1шт.

See Figure 75.200.37

1шт.

8

84398746

DISC

OPENER ASSY, 14" HD TRAILING, Start Year: 01-APR-13

1шт.

See Figure 75.200.37

1шт.

9

86508732

BOLT,5/8"-11 x 2.391" Cl 8

1шт.

10

87698796

BOLT,Hex, 5/8-11 1.75 Full LH Thd Gr 8

LH Hex, 5/8"-11 x 2", G8

1шт.

11

324180A1

BEARING CAP,35.2 mm OD x 7.62 mm

bearing

2шт.

12

51200045

CARRIAGE BOLT

5/16"-18 x 3/4", G5

4шт.

13

44722S36

WASHER,5/16", .354" x .688" x .08" Thk

1шт.

14

413687A1

SCRAPER

blade RH

1шт.

15

413684A1

SCRAPER

blade LH

1шт.

16

145458

SERRATED NUT,5/16"-18 GR 5 ZND

4шт.

17

230311A1

CLAMP

hopper assembly, Model Year 2011 And Prior

1шт.

17

84410488

LATCH

hopper assembly, Model Year 2012

1шт.

18

86521550

BOLT,Hex, 1/4" - 20 x 3/4", Gr 5

2шт.

19

523282

SERRATED NUT,Flg, USR, 1/4"-20

2шт.

20

430873A1

GAUGE

depth

1шт.

21

86624112

SELF-TAP SCREW,HWH, #10 - 24 x 1/2"

4шт.

22

9707516

BOLT,1/2"-13 x 1-3/4", Cl 5

3шт.

23

86512371

SERRATED NUT,Flg, USR, 1/2"-13

1шт.

24

80679

LOCK WASHER,1/20.507 CST ZND

2шт.

25

280431

NUT,1/2"-13, G5

2шт.

26

430872A1

GAUGE

clamp plate

1шт.

27

430869A1

SPRING CLIP

1шт.

28

147310C1

HEADED PIN,6.35mm OD x 69.85mm L

pointed, 1/4" x 2 3/4"

1шт.

29

86624096

COTTER PIN,Int, 3/16 x .080"

1шт.

30

1279684C1

ROD

depth adjusting

1шт.

31

430871A1

BUSHING,17.5mm ID x 31.8mm OD x 16mm L

spacer

1шт.

32

430868A1

HANDLE

depth adjustment

1шт.

33

86624076

HEADED PIN,1/4" x 1 1/4", G5

1шт.

34

87394

COTTER PIN,1/8" x 1/2"

1шт.

35

432749A1

BAR

assembly, tension

1шт.

36

1277597C1

STUD

barbed #12 x 3/4" RH

2шт.

37

86624072

HEADED PIN,12.7mm OD x 69.85mm L

1шт.

38

432-1216

COTTER PIN,3/16" x 1"

1шт.

39

436712A1

BRACKET

wobble

1шт.

40

86624066

CLEVIS PIN,19.05mm OD x 45.62mm L

1шт.

41

86523851

COTTER PIN,5/32" x 1 1/4"

1шт.

42

84157207

DECAL

row unit depth limit

1шт.

Выбрано товаров: 55