Запчасти Case IH 1260 (75.200.05) - ROW UNIT - CHAIN METER DRIVE (75) - SOIL PREPARATION

Схема запчастей Case IH 1260 - (75.200.05) - ROW UNIT - CHAIN METER DRIVE (75) - SOIL PREPARATION
8
3
6
9
5
1
3
11
12
6
7
13
2
10
4
FIT
1:1
100%

Артикул

Название

Примечание

Количество

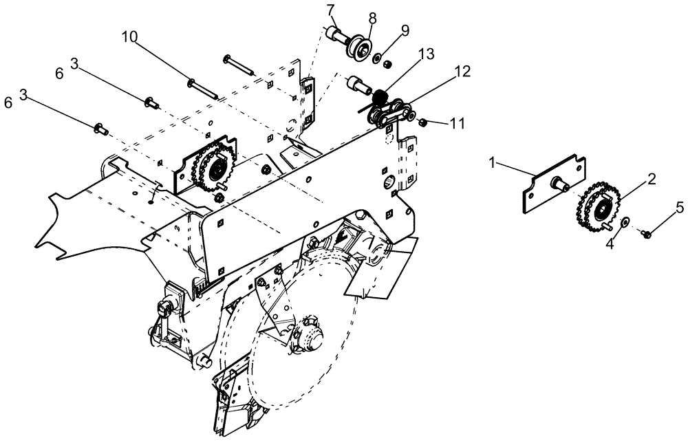
1

303068A1

BRACKET

bearing spindle mount assembly

1шт.

2

87407490

SPROCKET

and bearing assembly, Model Year 2011 And Prior

1шт.

2

84381729

SPROCKET

Meter Drive Single, Model Year 2012

1шт.

2

84304533

SPROCKET

Meter Drive Double, Model Year 2012

1шт.

3

80280503

CARRIAGE BOLT,Sht Sq Nk, 3/8" - 16 x 1", Gr 5, Full Thd

2шт.

4

86624140

WASHER,0.28" ID x 0.88" OD x 0.06" Thk

1шт.

5

86521549

BOLT,Hex, 1/4" - 20 x 1/2", Gr 5

1шт.

6

247780

SERRATED NUT,Flg, USR, 3/8"-16

2шт.

7

87459942

SPINDLE

chain tensioner

2шт.

8

87558401

ROLLER

speed compensator

1шт.

9

80664

WASHER,0.38" ID x 0.88" OD x 0.08" Thk

2шт.

10

281006

CARRIAGE BOLT,Sq Nk, 5/16" - 18 x 3", Gr 5

2шт.

11

86050277

NUT,5/16"-18, GB

2шт.

12

87458905

ROLLER

chain tension

1шт.

13

87505096

TENSION SPRING

idler

1шт.

Выбрано товаров: 15