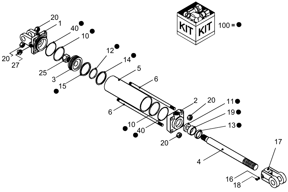
Запчасти Case IH 1260 (35.116.04[02]) - HYDRAULIC CYLINDER - 3" X 4" NITRO 87671040 (35) - HYDRAULIC SYSTEMS

Схема запчастей Case IH 1260 - (35.116.04[02]) - HYDRAULIC CYLINDER - 3" X 4" NITRO 87671040 (35) - HYDRAULIC SYSTEMS
20
4
1
5
6
100
20
18
14
27
19
3
16
6
40
17
20
11
20
15
25
2
40
10
12
10
13
FIT
1:1
100%

Артикул

Название

Примечание

Количество

0

87671040

HYDRAULIC CYLINDER,38.1mm Rod, 609.6mm Stroke

3" x 24"

1шт.

1

87409445

HEAD

cylinder base 3" bore

1шт.

2

84147392

HEAD

6" cylinder front

1шт.

3

87409478

PISTON

cylinder 3" bore Monarch #494734

1шт.

4

84147682

PISTON ROD

1шт.

5

87409387

CLEVIS,1 -1/4" - 12

cylinder 1" pin 1 1/4"-12 rod Monarch #492652

1шт.

6

84155448

TIE-ROD

4шт.

16

145453C1

PLUG,Lock, 7.938mm Dia x 3.175mm Thk, Nylon

pad, clevis set screw

1шт.

17

8952

CYLINDER END CAP

rod 3" Monarch

1шт.

18

87314803

SET SCREW,Hex Skt, 3/8" - 16 x 1/2"

1шт.

20

280431

NUT,1/2"-13, G5

8шт.

25

87314800

LOCK NUT

1"-14, GA

1шт.

27

71100209

PLUG,Hex Soc, 3/4"-16 ORB

1шт.

100

9681

SEAL KIT

3" x 8" Monarch

1шт.

Выбрано товаров: 14