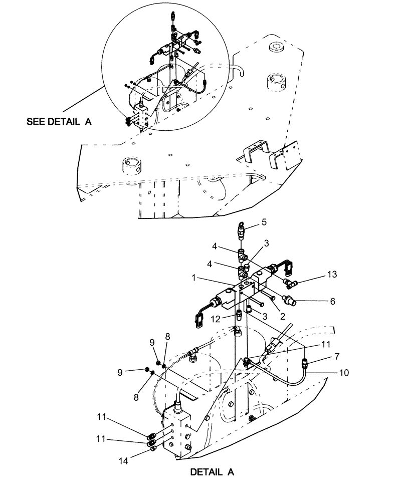
Запчасти Case IH 1260 (75.200.28[02]) - PNEUMATIC DOWN PRESSURE - PILOT VALVE (75) - SOIL PREPARATION

Схема запчастей Case IH 1260 - (75.200.28[02]) - PNEUMATIC DOWN PRESSURE - PILOT VALVE (75) - SOIL PREPARATION
9
11
13
5
4
11
7
8
3
12
4
3
10
11
6
8
1
14
2
9
FIT
1:1
100%

Артикул

Название

Примечание

Количество

1

84141998

VALVE

pneumatic pilot

1шт.

2

87404

BOLT,Hex, 1/4" - 20 x 2", Gr 5

2шт.

3

86568834

PLUG,1/4" - 18 NPT

2шт.

4

217-51

TEE,1/4"-18 NPTF Fem x 1/4"-18 NPTF Male Run

2шт.

5

84162561

VALVE PRESSURE RELIE

110 PSI

1шт.

6

84163183

TRANSDUCER

pressure 0-150 psi

1шт.

7

84163245

FITTING

1/4" M Push To Connect x 1/4" M NPT

1шт.

8

80682

LOCK WASHER,1/4"

2шт.

9

7770

NUT,Hex, 1/4 - 20, Cl 5

2шт.

10

87675607

HOSE, BULK,4.318 mm ID x 6.35 mm OD x 76200 mm L

250' roll

1шт.

11

84283252

COUPLING

90º Push to Connect 1/8"

3шт.

12

87752977

MUFFLER

pneumatic filter

1шт.

13

84164949

COUPLING

1/4 NPT

1шт.

14

88071

PLUG

Hex Hd, 1/8"-27 NPTF

1шт.

Выбрано товаров: 0