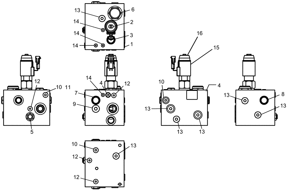
Запчасти Case IH 1260 (35.138.10) - HYDRAULICS - VALVE BLOCK, BULK FILL DIRECT DRIVE 18GPM (35) - HYDRAULIC SYSTEMS

Схема запчастей Case IH 1260 - (35.138.10) - HYDRAULICS - VALVE BLOCK, BULK FILL DIRECT DRIVE 18GPM (35) - HYDRAULIC SYSTEMS
14
10
1
11
13
16
13
6
9
3
5
13
7
15
4
12
10
10
2
12
12
14
13
14
4
13
14
12
13
13
8
FIT
1:1
100%

Артикул

Название

Примечание

Количество

0

84135390

VALVE

bulk fill dd 18 gpm

1шт.

2

304495A3

VALVE

cartridge, flow control

1шт.

304495A3R

REMAN-HYD VALVE

1260 RISER® SERIES (1/10-)

1шт.

304495A3C

CORE-VALVE HYD

Return Number

1шт.

84537688R

REMAN-HYD VALVE

1260 FRONT FOLD TRAILING PLANTER EARLY RISER® SERIES (1/10-), Reman For New P/N 304495A3

1шт.

84537688C

CORE-VALVE HYD

Return Number

1шт.

3

86511474

CHECK VALVE

Coast

1шт.

4

1341811C1

SPRING-CHECK

REPAIR KIT sense check

1шт.

5

304421A1

VALVE

flow regulator

1шт.

6

84141333

VALVE

18 gpm flow limiter

1шт.

7

87427764

PLUG

cavity 5/8" orb, 7/8"-14

1шт.

8

134687A1

PLUG

relief

1шт.

9

86625138

PLUG,7/18" - 14

1шт.

10

9625178

PLUG,9/16" - 18 ORB

3шт.

11

87434017

PLUG

1шт.

12

87035062

PLUG,Hex, 1/2"-20 ORB

4шт.

13

71100209

PLUG,Hex Soc, 3/4"-16 ORB

7шт.

14

86632547

PLUG,Hex, 5/16"-24 ORB

4шт.

15

243254A1

KIT

Solenoid

1шт.

16

188106A1

NUT

retaining, Serial Range: coil-stem

1шт.

Выбрано товаров: 20