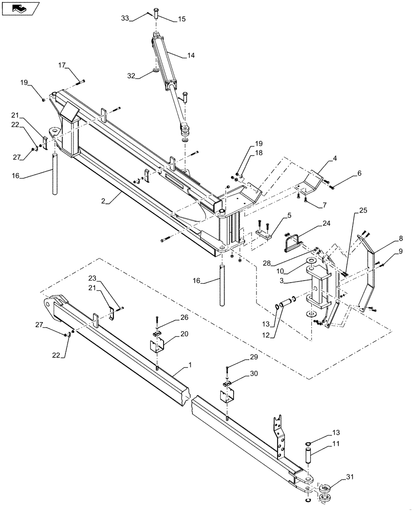
Запчасти Case IH 1260 (39.100.08[04]) - FRAME - DRAFT LINK 90 (39) - FRAMES AND BALLASTING

Схема запчастей Case IH 1260 - (39.100.08[04]) - FRAME - DRAFT LINK 90 (39) - FRAMES AND BALLASTING
home
9
11
24
19
25
16
1
2
27
22
26
16
18
13
14
29
22
10
15
13
33
20
28
17
21
7
21
19
23
6
32
3
5
30
4
12
27
8
31
FIT
1:1
100%

Артикул

Название

Примечание

Количество

1

84131970

FRAME

draft tube, 90'

1шт.

2

87483404

FRAME

rear draft, RH LG

1шт.

2

87483406

FRAME

rear draft, LH LG

1шт.

Not Shown

1шт.

3

84131988

FRAME

Draft Center Pivot

1шт.

4

87671069

PAD

147.6 mm x 240 mm x 19.1 mm uhmw

1шт.

5

87757690

PAD

46 mm x 147.6 mm x 19.1 mm uhmw

1шт.

6

22822

SCREW

cap 1/2" x 2 1/4" fh hx-skt all thread

4шт.

7

87301496

HEX SOC SCREW,Flat Hd, CSK, 1/2" - 13 x 1 1/2"

2шт.

8

87671065

PAD

76.2 mm x 860 mm x 12.7 mm uhmw

1шт.

9

9920

SCREW,3/8" - 16 x 1.5, Gr 5

3/8" x 1 1/2" GR5 countersunk

6шт.

10

432584A1

WASHER

1.52" id x 3.5" od x .188" thick

2шт.

11

87708908

PIN

39.9 mm x 131 mm ul

1шт.

12

87708895

PIN

38.1 mm x 89 mm ul

1шт.

13

86632531

SNAP RING,#150, Ext

4шт.

14

87671040

HYDRAULIC CYLINDER,38.1mm Rod, 609.6mm Stroke

3" x 24"

1шт.

15

439-51656

HEADED PIN,1" x 3 1/2", G5

2шт.

16

87757677

PIN

38.1 mm x 425 mm fl

2шт.

17

88043

BOLT,Hex, 1/2" - 13 x 3 1/4", Gr 5

2шт.

18

87364

WASHER,0.53" ID x 1.06" OD x 0.1" Thk

2шт.

19

86992215

LOCK NUT,1/2"-13, GC

6шт.

20

84163255

BRACKET

Hose Clamp

5шт.

21

87545575

HOSE CLAMP

3шт.

22

86594406

CLAMP,15.9mm, Coat, 10.3mm Bolt Hole, P Type

3шт.

23

88444

BOLT,Hex, 3/8" - 16 x 2 3/4", Gr 5

3шт.

24

87671075

SUPPORT

Hydraulic Hose Assembly

1шт.

25

88436

BOLT,Hex, 3/8" - 16 x 2", Gr 5

2шт.

26

87016

WASHER,0.41" ID x 0.81" OD x 0.07" Thk

9шт.

27

247780

SERRATED NUT,Flg, USR, 3/8"-16

6шт.

28

88902

NUT,3/8"-16

8шт.

29

88546

BOLT,Hex, 3/8" - 16 x 2 1/4", Gr 5

5шт.

30

87482623

CLAMP

agriculture large

5шт.

31

87671027

BUSHING

poly 95.3 x 41 x 20 th

2шт.

32

87036175

WASHER,1.06" ID x 2" OD x 0.22" Thk

2шт.

33

432-1628

COTTER PIN,1/4" x 1 3/4"

2шт.

Выбрано товаров: 35