Качественные детали и логистика
Оригинальные и аналоговые запчасти с доставкой по России, Казахстану и Беларуси
©2022 PartSell ООО "Система" ИНН 2463123282 ОГРН 1212400004838
Центральный офис: г. Красноярск, Академика Киренского, д.87, пом.4
Телефон: 8 (800) 777-65-74 Email: zakaz@partsell.ru
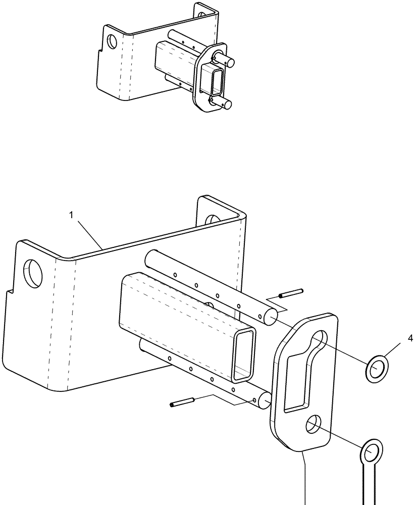
(39.100.14) - FRAME - WEIGHT BRACKET ASSEMBLY
№
Артикул
Название
Примечание
Количество
1
84161897
BRACKET
row unit assembly 30"
1шт.
2
84161655
END PLATE
row unit lift
2шт.
3
87318212
PIN
4
87032459
WASHER,1.31" ID x 2" OD x 0.07" Thk
Выбрано товаров: 0