Запчасти Case IH 1265 (35.100.BI[02]) - HYDRAULIC CYLINDER 3X4 NITRO (35) - HYDRAULIC SYSTEMS
№
Артикул
Название
Примечание
Количество
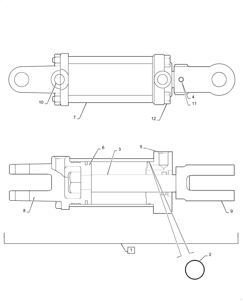
1
87671044
HYDRAULIC CYLINDER,Double Acting, 31.75mm Rod, 76.2mm Stroke
3X4 NITRO INCL 3 - 13
1шт.
2
9681
SEAL KIT
1шт.
3
84147680
PISTON ROD
1шт.
4
145453C1
PLUG,Lock, 7.938mm Dia x 3.175mm Thk, Nylon
NYLON, SCREW INSERT
1шт.
5
87582273
CYLINDER END CAP
3IN MONARCH
1шт.
6
87409478
PISTON
CYLINDER
1шт.
7
87582271
TIE-ROD
4шт.
8
87409445
HEAD
CYLINDER BASE
1шт.
9
87409387
CLEVIS,1 -1/4" - 12
1шт.
10
86590562
PLUG,Hex Soc, 3/4" - 16 ORB
2шт.
11
87314803
SET SCREW,Hex Skt, 3/8" - 16 x 1/2"
1шт.
13
87314800
LOCK NUT
ALL MTL 1-14 GR C PHC
1шт.
Выбрано товаров: 13