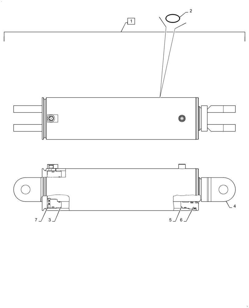
Запчасти Case IH 1265 (35.100.BI[03]) - HYDRAULIC CYLINDER 6.25X19.92 PHASE (35) - HYDRAULIC SYSTEMS
1
2
5
6
4
7
3
FIT
1:1
100%
№
Артикул
Название
Примечание
Количество
1
87671035
HYDRAULIC CYLINDER,Double Acting, 505.968mm Stroke
6.25X19.92 PHASE 3 - 7
1шт.
2
84147384
SEAL KIT
1шт.
3
84146564
PISTON
HYD CYL
1шт.
4
84146574
PISTON ROD
1шт.
5
84146575
HEAD
GLAND
1шт.
6
87447795
INSERT
LOCKING
1шт.
7
80437
SET SCREW,Hex Soc, 1/4"-20 x 1/2"
1шт.
Выбрано товаров: 7