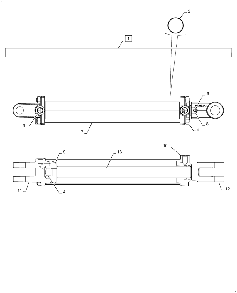
Запчасти Case IH 1265 (35.100.BI[08]) - HYDRAULIC CYLINDER 3.0X16 NITRO (35) - HYDRAULIC SYSTEMS
№
Артикул
Название
Примечание
Количество
1
84282605
HYDRAULIC CYLINDER,Double Acting, 38.1mm Rod, 406.4mm Stroke
3.0X16 NITRO INCL 3 - 13
1шт.
2
9681
SEAL KIT
1шт.
3
86590562
PLUG,Hex Soc, 3/4" - 16 ORB
2шт.
4
87314800
LOCK NUT
ALL MTL 1-14 GR C PHC
1шт.
6
87314803
SET SCREW,Hex Skt, 3/8" - 16 x 1/2"
3/8-16X1/2 CUP AST PLN
1шт.
7
87577798
THREADED TIE-ROD
3&4 X 16 MONARCH
4шт.
8
145453C1
PLUG,Lock, 7.938mm Dia x 3.175mm Thk, Nylon
NYLON SCREW INSERT
1шт.
9
87409478
PISTON
CYLINDER
1шт.
10
8952
CYLINDER END CAP
1шт.
11
87409445
HEAD
CYLINDER BASE
1шт.
12
84283952
CLEVIS
1шт.
13
84155866
PISTON ROD
1шт.
Выбрано товаров: 13