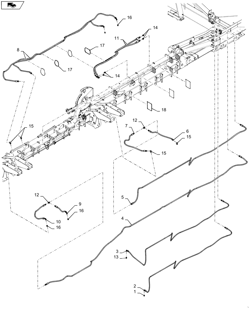
Запчасти Case IH 1265 (35.944.AI[14]) - HYDRAULICS HOSES AND FITTINGS LEFT FOR 32/30 (35) - HYDRAULIC SYSTEMS

Схема запчастей Case IH 1265 - (35.944.AI[14]) - HYDRAULICS HOSES AND FITTINGS LEFT FOR 32/30 (35) - HYDRAULIC SYSTEMS
15
11
17
16
14
15
16
9
2
14
3
13
18
17
8
7
1
15
4
home
10
16
12
5
6
12
FIT
1:1
100%

Артикул

Название

Примечание

Количество

1

87672176

HYD CONNECTOR

3/8 - 1/2

1шт.

2

84566436

HYDRAULIC HOSE

10mm ID X 6220mm

1шт.

3

84566437

HYDRAULIC HOSE

10mm ID X 7000mm

1шт.

4

84566438

HYDRAULIC HOSE

12.5mm ID X 12200mm

1шт.

5

84566439

HYDRAULIC HOSE

12.5mm ID X 7250mm

1шт.

6

84539656

HYDRAULIC HOSE

12.5mm ID X 1145mm

1шт.

7

84539655

HYDRAULIC HOSE

12.5mm ID X 1397mm

1шт.

8

84539646

HYDRAULIC HOSE

12.5mm ID X 6500mm

2шт.

9

84539653

HYDRAULIC HOSE

12.5mm ID X 533mm

1шт.

10

84539651

HYDRAULIC HOSE

12.5mm ID X 533mm

1шт.

11

84566448

HYDRAULIC HOSE

10mm ID X 2300mm

2шт.

12

84545648

UNION TEE

1/2

2шт.

13

84536883

FITTING

3/4 -1/2

1шт.

14

9993143

HYD CONNECTOR,11/16" - 16 ORFS x 9/16" - 18 ORB

4шт.

15

9992307

90 ELBOW,90 Degree, 13/16"-16 x 3/4"-16 Adj, ORFS

4шт.

16

9992305

HYD CONNECTOR,13/16" - 16 ORFS x 3/4" - 16 ORB

4шт.

17

87502038

CABLE TIE

Small

1шт.

18

87502040

CABLE TIE

Large

1шт.

Выбрано товаров: 18